This article enhances the use of the applied game theory and hypergame theory in global politics and strategic security studies. It suggests first a (Deception Hypergame Model of Inter-state Conflict) where conditions of certainty and uncertainty, perception and deception are considered within a conflict/war impediment perspective. While inferring an interconnectedness of (Initial Stability in the Powers Conflict and Deterrence Relation) in the international system, we develop a (Deterrence Entanglement Law) second that can be applied effectively to inter-state conflict cases to preclude the (present/future) conflict or war possibility given that the balance reached might be relative, outright, or incomplete, as proven under this theoretic-strategic approach.
## I. INTRODUCTION
Game theory is the branch of science concerned with modeling the strategic interactions between two players or more in real-world circumstances or a predicated situation, in whatever discipline of knowledge, where the aim is to maximize each side's utility with or without considering the other's rationality. So, the equilibrium in game-theoretic models represents the solution point reached when all players pick their moves simultaneously or sequentially in the game. Many equilibria have been defined in the field; the most famous is the non-cooperative games' Nash equilibrium. Under the latter, players can randomize their choices, playing mixed strategies and making the best strategy-response to each other's strategy choice simultaneously while considering the other(s)'s own rationality.
The rationality argument is a standard used in game theory indicating that each player in a game situation seeks the maximization of utility during the strategic interactions of this game's real/predicted life situation, making rational choices (i.e., decisions) that are individually expected to bring the highest and stable payoff to this actor at the end. The extended development of the mentioned game theory is the hypergame theory. If game theory models the strategic interactions in complete or incomplete certainty conditions and perception state, then the succeeded hypergame theory has another say.
Hypergame theory acknowledges the circumstances in which some opponents are in a conflict situation where the incorrect perception, intentional deception, misunderstanding, and misled information made by one opponent against its enemy have a place in modeling this situation. Nash equilibrium is proved to be found in those intentional deception/misperception-based models of the hypergame under a specific context. In a hypergame model, multiple games or hypergames manifest, given that each separate perceived game or hypergame of one player includes some understood equilibria from this player's own perspective and perceptions of the game and the other(s)'s (i.e., the opponent) perceptions and beliefs about the conflict. Still, none of the separately perceived equilibriums can be Nash equilibrium of the entire hypergame model, but only if it is to be a Nash equilibrium in each individual subjective game/hypergame, expressing Nash strategy in all of them under the same model. Thence, the ultimate balance of a hypergame model, strategizing a complex conflict situation, can be reached, and even permanently.
Accordingly, in this research work, we introduce a (Conflict or War Impediment Strategic Approach) relying on the applied game theory and hypergame theory in global politics. This approach is represented through two developed theoretical works; the first is a (Deception Hypergame Model of Interstate Conflict "DHMIC"), and the second is a (Deterrence Entanglement Law "DEL"). In this paper, both are explained from a theoretic-strategic lens, which can be applied to inter-state conflict cases for impeding the conflict/war among the international system's nation-states, considering the (DEL)'s rules illustrated in this context.
# II. THE CONFLICT OR WAR IMPEDIMENT STRATEGIC APPROACH, PART I
### a) The (DHMIC)'s Main Assumptions
## i. Basic Assumptions
- The (DHMIC) is based on a second-level hypergame (HG), in which misperceptions about the game or/and reality exist, and at least one player is
aware that a hypergame is being played and there is a misperception in the game.
- In this hypergame model, there are two players: the first is Power I, and the second is Power II. We abbreviated both as (P-I) and (P-II), respectively, where each might be super, great, or middle power, conditioning that the client, agent, puppet, or dominated states do not lie within this hypergame-model's confines of interactions.
- Given that it is a second-level hypergame model, every player in a perceived hypergame cannot realize or know exactly about the other player's preference vector. Besides the misperceptions that exist when reasoning about the other's strategic choices; also, deception manifests depending on the lack of information about a player's actual actions, moves, beliefs, and perceptions.
Each player, either (P-I) or (P-II), perceives the hypergame relying on available information, specifying some equilibria while perceiving the other player's game and how this actor understands the game and reality. In sum, our "Deception Hypergame Model of Interstate Conflict (DHMIC)" can be denoted as: $\{HG = (HG)1 + (HG)2\}$, where the (HG)1 is the hypergame perceived by (P-I), consisting of the game played by (P-II) as (P-I) understands it, that is: $\{(HG)1 = (G)2\}$. Likewise, the (HG)2 is the hypergame understood by (P-II) that is composed of the game played by (P-I) as (P-II) perceives it; this is denoted as: $\{(HG)2 = (G)1\}$.
- The (DHMIC) represents an actual hypergame where a common knowledge about the conflict exists, relating outcomes between individual games and dismissing equilibria perceived within each player's hypergame if it would not be equilibria for the entire hypergame played.
- The mapping function applied within the (DHMIC) is an attempt to balance unbalanced models when applying hypergame theory to conflict management. That aims to facilitate managing complex conflict that (may) exist in real-world circumstances if "uncertainty, misperception, and deception" become a triple-dimension controlling or restricting the nation-state or any power's behavior in its relationship with other powers in the international system. So, we focus on the state actors in this modeling, seeking to stabilize the system structure once the misperception/deception is revealed or countered and the equilibria are reached and settled.
## ii. Theoretical Assumptions
- The model relies on two theoretical backgrounds discussed in the above theoretical survey. The first is the Decision-Theoretic Deterrence Theory and the
second strand of the Classical/Rational Deterrence Theory. At the same time, the first variant of the last, the Structural or Neo-Realist Deterrence theory, is applied, which focuses on how to balance the system between two or more great powers, in particular, distributing political, economic, and/or military power between them (approximately) equivocally so that no one state/power or group of states/powers can overwhelm the other. That is the well-known balance of power system. Comparingly, the Decision-Theoretic Deterrence Theory concentrates on studying decision-making relations between actors (i.e., states) in the system, attempting to stabilize the system's structure through theoretical predictions on how each actor might behave, making rational decisions when confronting other actors in the system who are assumed to make rational choices in the same course.
- The famous Chicken model as the prominent and dominant game model in the Decision-Theoretic Deterrence Theory reflected a normal form representation of game theory, where the players make their decisions in a simultaneous move. There are mainly four rational possibilities: a- either both players/nation-states choose to cooperate, and the outcome is a compromise with payoffs next to best for all; b- both choose to defect, thus getting their worst payoffs in the game moving to conflict outcome; or that one state defects and the other cooperates, where the one that defects gets its best in the game, and the other that chooses to cooperate gets its next worst payoff under one-side cooperation situation. The Nash or optimal equilibria in the Chicken game model are represented in three cases: the mutual cooperation or compromise outcome and the two cases when one defects and the other cooperates. Within the same modeling, the theory confirms two main strategy categories: the first is well-known as the "Tit-for-Tat," explaining the cases when all players cooperate or all defect; and the second is known as "Tat-for-Tit," which is the opposite, describing the situations where one prefers to cooperate and the other defects, and vice versa.
- Our "Deception Hypergame Model of Interstate Conflict" is based on not only developing the Decision-Theoretic Deterrence Theory's uses in IR where misperception, different information, and uncertainty exist about the reality or the game itself in a complex conflict modeling function. Also, the (DHMIC) attempts to integrate the Asymmetric Escalation Game, which is one strand of the Perfect Deterrence Theory, explained above, with the Decision-Theoretic Deterrence Theory under one deception hypergame-model manner. The Perfect
Deterrence Theory was introduced by Zagare and Kilgour in 2000 as a remedy to the precedent game models that were built on rationality assumptions and proved to be incomplete or inconsistent theoretically in many ways, reconciling the international relations theory with the applied game theory excellently. Effectively, they showed why and how conflicts ensue, escalate, and are resolved interstate, how limited conflicts arise, and when and how extended deterrence exceeding a crisis initiation succeeds (i.e., preventing an all-out conflict), or fails, allowing the conflict outcome to be in play.[1]
- The built model depends, in part, on the explanation of the Asymmetric Escalation Game, which is one of the incomplete information models developed by Zagare and Kilgour in 2000, that Zagare applied to the Cuban Missile Crisis 1962,[2] criticizing precedent theoretical attempts of using game theory in interpreting the crisis in his 2014 research work,[3] as illustrated later. Within the Asymmetric Escalation model, as explained previously, there are two players: Challenger and Defender, where the Challenger may prefer not to make a demand preserving the status quo or make a demand overturning it. Under the same game, the Defender may concede, defy responding in kind, or escalate. The Defender defying stimulates the Challenger to make a demand only, sequentially, resulting in a limited conflict or escalating where the Defender in the following node can also escalate, allowing for all-out conflict to ensue or defy only, leaving the Challenger to win. If the Defender responds to the Challenger's Demand by escalating instead of conceding or defying, and the Challenger escalates likewise, an all-out conflict outcome arises. If the Challenger backs down, preferring to respond to the escalation by making a demand only, thus not countering escalating, this player allows the Defender to win as an outcome.
- In this model, we reconcile the (P-I) and (P-II)'s preference vectors, actions, and moves, and each perceived hypergame's equilibriums where misperceptions/deception and misled understanding or misinformation exist in
complicated circumstances of managing conflict interstate, with the following:
a. The assumptions, strategies, and equilibria included in the Decision-Theoretic Deterrence Theory's Chicken game model; b. The strategic preferences, game moves and countermoves, and equilibria theorized within the Asymmetric Escalation Game model of the Perfect Deterrence Theory. So, a developed hypergame-theoretic model is introduced as to come below.
- This study's developed (Deception Hypergame Model of Interstate Conflict) hypothesis that we seek to prove its validity is: "The initial stability in the system powers' conflict and deterrence relation is achieved through joint equilibria simultaneously occurring and the opponent-directed-capable and credible threat-existing in a mutual deterrence relationship, under certainty and perception, or uncertainty and deception conditions."
iii. Complementary Assumptions
- The Deception Hypergame Model of Interstate Conflict is composed of: a. Deception hypergame played first, which we called "Play I: Deception Hypergame." b. Sub-hypergame played second, and is initiated by (P-I), which we called "Play II: Deception-Derived Sub-(HG)." c. Sub-hypergame played third and initiated by (P-II), naming it "Play III: The (DTD-AE)'s Deception Sub(HG)" where the (DTD-AE) abbreviation indicates "Decision-Theoretic Deterrence & Asymmetric Escalation."
- In the (DHMIC), the $(x, y)$ refer to payoff to Power I (P-I), and payoff to Power II (P-II), consecutively. At the same time, the $(4,3,2,1,0)$ numbers indicate the payoffs as follow: " $4 = \text{Best}$; $3 = \text{Next-Best}$; $2 = \text{Next-Next-Best}$, and $\text{Next-Zero-State Worst}$; $1 = \text{Zero-State Worst}$; $0 = \text{Minus-State Worst}$ where $\{0 < 1 < 2 < 3 < 4\}$.
- The arrow used in our modeling at a strategic preference node refers to that it is the rational choice made in the hypergame, depending on: a. Decision-Theoretic Deterrence theory's Chicken Game's assumptions; b. Perfect Deterrence Theory's Asymmetric Escalation Game's assumptions; c. The assumed rationality of each player, which relies on the player's perceptions about the game and reality, its beliefs and available information on how the opponent reasons and what its perceptions in the game are, the subjective probability of preferred actions, and the expected utility and its maximization calculations _ where the last two are borrowed from the rationality arguments in game theory.
- The "Constrained Limited Response Equilibrium (CLRE)" $^{4/5}$ is used in our Deception Hypergame Model of Interstate Conflict, however, under different conditions. The (CLRE) is employed here not because the Defender _ assuming that it is (P-II), was thought to be soft or soft-hard, surprising the Challenger, assumingly (P-I), by a limited response. In contrast, we used the (CLRE) because (P-II) at one node of Play II could reveal that it is a deception hypergame or could not (i.e., the actual case) but acting upon uncertainty conditions and starting a deception sub-hypergame on its own _ where (P-I) is not aware that there would be a counter-hypergame being played, or that it would have misperception/deception in a deception hypergame it initiated. So, the reached equilibria were not considered Perfect Bayesian Equilibria $^{6}$ that Zagare and Kilgour mainly proved in developing their Perfect Deterrence
4 Under a CLRE, there is uncertainty about Defender's willingness to respond in-kind to an initiation where Challenger misjudges Defender's intentions and is surprised by a limited response (Kilgour and Zagare, "Explaining Limited Conflicts"). Challenger at such a point prefers to not escalate, making a demand only and limited conflict arises, as it concludes that Defender will counter-escalate, and an all-out conflict will occur (ibid). Furthermore, Zagare explaining the Cuban missile crisis from the Asymmetric Escalation Game-model's perspective, demonstrated that only the Constrained Limited Response Equilibrium is "consistent with the beliefs, the action choices of US and Soviet decision makers and, significantly, with the political bargain that ended the crisis" (Zagare, "General Explanation of the Cuban Missile Crisis," 91). This (CLRE) occurs: "if Defender is Hard at the first level (i.e., defying or escalating), (and) then it is also likely Hard at the second level (i.e., counter-escalating if Challenger escalated first), which is why Challengers never escalate first" (ibid, 102) when Defender defeats/responds-in-kind; and therefore, what Zagare called here Limited Conflict, Brokered Settlement, or Compromise outcome results. Also, another significant equilibrium may take place under the Asymmetric Escalation model, resulting in the Limited Conflict same outcome, which is the Escalatory Limited Response Equilibrium (ELRE). According to Zagare, the (ELRE) exists only when a tactically Hard Defender is much more likely to be of type Hard-Soft than of type Hard-Hard _ where Hard Challengers tend to escalate first given that Defender will most likely back off and the equilibrium will be Challenger Escalates (Wins) (ibid). Thus, a Limited Conflict outcome can only occur with either the (CLRE) or (ELRE) equilibrium, from the Perfect Deterrence Theory perspective. Under our (DHMIC), if (P-II) backs down after responding-in-kind and (P-I)'s escalation firstly, that is because the last is an irrational actor in the system and backing down by (P-II) is the "non-rational choice." That, if made, has the least probability ever in a game between equally or equivalently (super, great, or middle) powers of the international system in real-world circumstances. So, we dismissed employing the (ELRE) in our modeling.
- See, Kilgour and Zagare, "Explaining Limited Conflicts;" Zagare, "A Game-Theoretic History of the Cuban Missile Crisis;" Zagare, "General Explanation of the Cuban Missile Crisis."
- [6] Under the enlarged manner of Perfect Bayesian Equilibria, there is an equilibrium emerges at the end of each node of two or more players' interactions in an extensive form game, where players make their moves sequentially. Also, Perfect Bayesian Equilibrium is determined depending on the type of players and whether they are hard or soft, aggressive or cooperative, or reliable/non-reliable, for example, where a player can acquire updated information at any node about the other player's type, changing the course of moves, and the equilibria resulting based upon that.
Theory. Rather, we defined each of them as Nash equilibrium of the hypergame, the theoretically well-known as hyper Nash equilibrium, under some given conditions explained.
- According to that, our (DHMIC) seeks to reach Nash Equilibria, which occurs when all players simultaneously make their best response to the other players' strategy choice, achieving their best payoffs in the game where no player may have the incentive to deviate. Here, we determine the equilibrium relying on the made action's rationality, coinciding with that rationality of all players when making their moves responding to one another, not on the type of the player _ that we keep unchanged (i.e., two powers in the system). Moreover, Nash Equilibria are used in the precedent Decision Theoretic-deterrence Theory's Chicken game model on whose assumptions, partially, we build our deception hypergame model.
- Therefore, in the (DHMIC), we define Nash equilibria positions achieved either in a hypergame or what we call a sub-hypergame that resembles the precedent sub-game,[7] but rather in a played hypergame. More clearly, if Nash equilibrium occurs in a sub-hypergame that starts from any node of the entire hypergame, we call "sub-hypergame perfect Nash equilibrium," tracing the roots of the well-known sub-game perfect Nash equilibrium addressed in extensive forms of game models.
### b) The (DHMIC)'s Perceived Hypergames and Individual Outcomes
## i. The $(P - I) - (HG)_1$
The $(\mathrm{HG})_1$ here is the hypergame perceived by (P-I), which answers how this player reasons about the other player's game, that is, the (P-II)'s $(\mathbf{G})_2$. In the context of a general (DHMIC), the (P-I)-(HG) is composed of: a. "Plays I and II's Deceiver "(P-I)"-Perceived HG;" and b. "Play III's Deceived "(P-I)" - Perceived HG." That we explain as follows:
a. Plays I and II's Deceiver " (P-I)"-Perceived HG In these $(\mathsf{HG})_1$ 's plays, Plays I and II, Power I (P-I) is the only player who knows that there is a hypergame being played and that (P-II) has misperceptions about the game. Therefore, the following explanation is introduced based on (P-I)'s perceptions and beliefs about the entire hypergame. Under "Plays I and II," (P-I) has a preference vector including these actions:
$(\text{Demand}); (\text{Defect}" \, D" \, in \, the \, Tat-for-Tit); (\text{Conditional Cooperation/Cooperation}" \, CC/C" \, in \, the \, Tit-for-Tat); \, and \, (\text{Defect in the} \, \text{Tit-for-Tat})$. Here, the (Tat-for-Tit) and (Tit-for-Tat) strategies are borrowed from the Decision Theoretic-Deterrence Theory to be used differently in sequential-move multiple games. Both players choose to cooperate, or all prefer to defect in the (Tit-for-Tat) strategy; that is what we refer to as: (C-C; D-D). Rather, one player cooperates, and the other defects, and vice versa, in the (Tat-for-Tit) strategy, which we denoted as: (C-D; D-C). Within this perceived hypergame, (P-I) understands that (P-II) has a preference vector consisting of a. (Cooperate), b. (Defect), and c. (Conditional Cooperation) actions under the (Tit-for-Tat) strategy.
 Figure 1: Plays I and II's Deceiver "(P-I)"-Perceived HG The
$(HG)_1$ 's perceived interactions-course: (P-I) understands that it starts the game, employing a Deception Factor $\{(+D)F\}$ versus (P-II). The first makes a demand for altering the status quo, moving to play the (Tat-for-Tit), and deceiving (P-II) about its perceptions and beliefs of the reality of conflict while the misled information and misunderstanding about its actual actions (i.e., decisions) and moves exist.
Also, (P-I) realizes that (P-II) would move sequentially to either (Cooperate) or (Defect) actions under the mentioned uncertainty. Given that it is a game played among powers of the international system, where a conflict takes place, (P-I) perceives that (P-II) is rationally better off if it chooses to (Cooperate). Namely, (P-II) would understand that theother clashing/conflicting power in the system (i.e., P-I) is also better off by the (Compromise Outcome) _ if it preferred the (Cooperate) choice, first, to (Defect), stabilizing relations among super, great, or middle powers within this system. (P-I) would pick the (Defect) action, however, in a sequential move, deceiving (P-II) about its (Tat- for-Tit) strategy preference. Thus, the first perceived equilibrium by (P-I) in $(\mathsf{HG})_1$ occurs, resulting in its "Victory Outcome" with payoffs: (4, 2).
Another possibility exists in the $(\mathrm{HG})_1$, within which (P-I) understands that (P-II) may reveal the
Deception Factor $\{(+\mathrm{D})\mathrm{F}\}$ and decide to choose the (Defect) action under uncertain certainty conditions (i.e., when the Deception Factor is exposed), not certain uncertainty ones (i.e., when the Deception Factor exists implicitly). Accordingly, (P-I) initiates a sub-hypergame, correcting the previous deception it practiced and moving to a (Conditional Cooperation "CC") choice. So, it leaves no rational choice to (P-II) other than picking the (Conditional Cooperation "CC") action, or the (Cooperate "C") one, in a sequential move. Therefore, the "Compromise outcome" arises, with payoffs: (3, 3), if (P- II) chooses the (Conditional Cooperation) same strategic preference. Rather, it is the "(P- I) Wins" outcome that occurs where the payoffs are: (4, 2), should (P-II) move to the "unconditionally" (Cooperate) action. The last outcomes are the second and third perceived equilibriums by (P-I) within $(\mathrm{HG})_{1}$.
Under other circumstances, (P-I) may perceive that (P-II) would prefer to (Defect) than to (Cooperate) after revealing the deception factor (if it occurred), reasoning about the (P-I)'s preference of moving to compromise by cooperation. Alternatively, (P-I) may acquire information or reasons that (P-II) rationally will (Defect) if it chooses (CC), for whatever reason. In either case, (P-I), that initiated the hypergame, perceives an expected utility of choosing to (Defect) first in the sub-hypergame, which results in:
a. The "Conflict Preferred-Outcome" with (P-II)'s choosing the (Defect) action in a played-(Tit-for-Tat) strategy, sequentially, so that (P-I) alters the status quo through war rather than peace (i.e., compromise).

 Figure 2: Plays I and II's Deceived "(P-II)"-Perceived HG, and Play III's Deceived"(P-I)"-Perceived HG
### b. Play III's Deceived " (P-1)" -Perceived HG
In the third play of the actual hypergame, (P-I), not perceiving that there is a hypergame being played or that it has misperceptions in the game, understands that once it plays (Defect in the Tit-for-Tat) as a war stratagem, (P-I) has but only two strategic choices: a. (Cooperate), avoiding the credible possibility of conflict, where (P-I)'s perceived equilibrium occurs
(i.e., (P-I) Wins) with payoffs: (4, 2); or b. (Defect), where the "Conflict Preferred Outcome" results with: (2, 1) as perceived numerical gains. In the latter case, (P-I) realizes that altering the status quo is better achieved by war, not diplomacy, in terms of "defecting first" in a (Tit-for-Tat)'s sub-hypergame it initiated; see Figure 2. Despite being part of its perceived Play II, the perceived Play III, with a repetitive or almost unchanged perception about (P-II)'s played-game, would prove to be misinterpreted by (P-I), as to come below.
## ii. The $(P - II) - (HG)_2$
The $(\mathrm{HG})_2$ here is the hypergame perceived by (P-II), indicating how this player reasons about the other player's game or the (P-I)'s $(\mathsf{G})_{1}$. Under the general (DHMIC), the $(\mathsf{P}-\mathsf{II})-(\mathsf{HG})_{2}$ is composed of: a. "Plays I and II's Deceived "(P-II)"-Perceived HG;" and, b. "Play III's Deceiver "(P-II)"-Perceived HG." Both we explain as follows:
 Figure 3: Play III's Deceiver " (P-II)"-Perceived HG
### a. Plays I and II's Deceived "(P-II)"-Perceived HG
Within the $(\mathsf{HG})_2$ 's Plays I and II, Power II or (P-II) has no knowledge that there is a. a hypergame being played, or b. a deception or misperception in the game. (P-II) understands that (P-I)'s (Demand) action means no more an act to move to a diplomacy track between both powers. Accordingly, (P-II) perceives that the (P-I)'s preference vectorincludes: the (Demand) and (Future "Tit-for-Tat (C-C; D-D)"') strategic choices in terms of witnessing no aggressive action picked by (P-I) first that may refer to an earlier possibility of the war outcome. Based on that, (P-II) has a preference vector composed of the (Cooperate) or (Defect) actions in a (Tit-for-Tat) used strategy.
Under this stage of the hypergame, (P-II), misperceiving the actual actions or moves of (P-I), prefers to (Cooperate), understanding it as the rational choice rather than defecting. It perceives, therefore, that (P-I) is better off by the "Compromise Outcome" so that it will choose to (Cooperate) sequentially. That is the (P-II)'s only perceived equilibrium in "Plays I and II" of $(\mathrm{HG})_2$ with payoffs (3, 3), avoiding the "Conflict Outcome," which results in the zero-state worst payoffs for both: (1, 1) if all moved to the (Defect) choice in the game; see Figure 2.
b. Play III's Deceiver "(P-II)"-Perceived HG: The aneuvering Sub- Hypergame
Following the previous Play I and Play II, (P-II) being strategically surprised by (P-I)'s (Defect) choice in a (super, great, or middle) powers (perceived) game, chooses to neither(Cooperate) nor to (Defect), escaping the "(P-I)'s Victory" perceived outcome with payoffs: (4, 2), as well as the "Conflict" one with the (1, 1) realized worst-gains. Strikingly, (P-II), in an initiated subhypergame, perceives that it can move to (Defying or response-in-kind) choice, where the "(P-I) Deterred" outcome takes place, with the payoffs reversed: (2, 4), if (P-I) backed down and chooses to (Defect) only, not to escalate. Thence, (P-II)'s perceived equilibrium of the $(\mathrm{HG})_2$ 's "Play Ill" occurs. Otherwise, (P-II) may rationally prefer the (Escalate) choice, expecting a "Preventive War Outcome" and confronting an aggressive actor (i.e., (P-I)) in the system if this actor/power chooses to (Escalate) first; see Figure 3. The payoffs received, in that case, are: (0, 1), where (P-I) gets its minus-state worst payoff or the most-worst at all, granting (P-II) the legitimate justification when escalating first to rally against it in a collective or common-good security-necessitated war.
c) The (DHMIC)'s Actual Interactions and Equilibria in a Mapping Function Relates Outcomes between Individual Games
Under this hypergame model, (Power II) can never reveal the Deception Factor $\{+(D)F\}$ but makes its choices with existing certain uncertainty about (Power I)'s actual actions and moves or its real played-game the player who started the deception hypergame. Namely, this model simulates real-world circumstances of conflict interstate under different information, beliefs, perceptions, understandings, and interpretations conditions. Within these actual interactions, the (Power I)'s strategic preference vector includes not only the actions perceived in its understood hypergame but also, it is composed of a more diverse set of strategic actions. These are: "Not Demand); (Demand $^+$ Tat-forTit C-D; D-C); Defect DCooperate C) Conditional Cooperation CC) (Cooperate Only) Defect Only); (Escalate)." Likewise, (Power II)'s set of strategic preferences is consisted of: "Cooperate (C); Defect DConditional Cooperation CC) (Cooperate Only); (Defy/Response-in-Kind); (Escalate); (Defy Only/Retreat)" actions. In each play, the arrow drawn at a node's end refers to the rational choice preferred to the other for a given player at that move. Sometimes two reasonable actions at the same move become preferredunder different conditions explained.
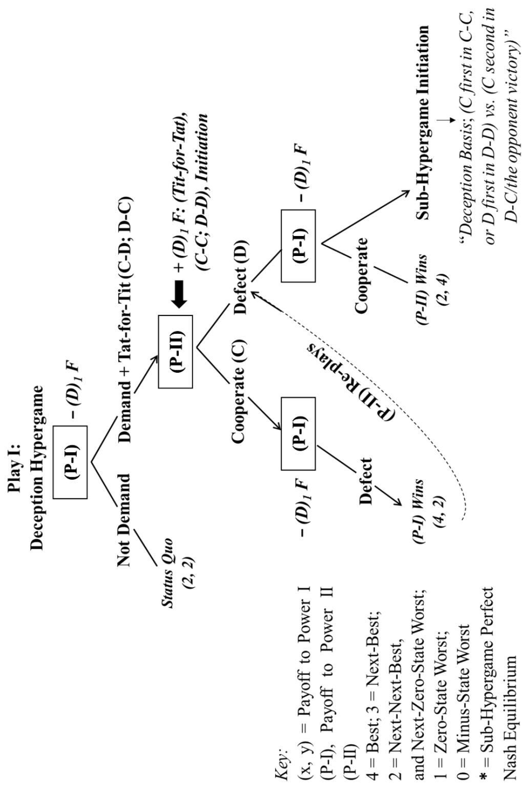
## i. The (DHMIC)'s Play I: Deception Hypergame
- "Play I" begins with (Power I) or (P-I) choosing to alter the status quo, which is the rational choice for this player, at this move, initiating a deception
hypergame. Given that the expected utility for both players at the "Status Quo Outcome" is: (2, 2), if (P-I) prefers the (Not Demand) choice, (P-I) moves first, making a (Demand) for a higher utility to result at another position of the game. The probability $(p)$ of (P-I)'s preferring of that rational choice, (Demand), is: $(0.5 < p \leq 1)$, whereas it is: $(0 \leq p < 0.5)$ of the (Not Demand) action.
- Having the first-play advantage, (P-I) prefers to use the (Tat-for-Tit) strategy, (C-D; D-C), while deceiving (P-II) of future using of the (Tit-for-Tat) one, (C-C; D-D), to act likewise.
 Figure 4: Play I; Deception Hypergame
- Being deceived in the game _ by considering the lack of (correct) information about (P-I)'s actual beliefs and perceptions, (Power II) or (P-II) moves to the (Cooperate) action sequentially. That is the (P-II)'s perceived rational choice, expecting the "Compromise Outcome" equilibrium to occur instead of a would-be ensuing conflict situation if both defect under a (misperceived) (Tit-for-Tat)-strategy.
- In a sequential move, (P-I) chooses its second-perceived rational choice in "Play I," that is: (Defecting) where $(p = 1)$, after deceiving (P-II) about its actual moves or the game played. So, the "(P-I) Wins" outcome occurs out of the (Cooperate, Defect) used strategies _ where the first is made in a (Tit-for-Tat) misperceived game by (P-II) while the second is made in a deceiving (Tat-for-Tit) one by (P-I).
- (P-II) as super, great, or middle power prefers to replay, changing the payoffs' position reached, picking the (Defect) action where $(p = 1)$ under certain uncertainty conditions. Thus, (P-II) understands that (P-I) might prefer the (Defect) choice in a sequence if its played strategy is (Tit-for-Tat) or the (Cooperate) one if the used strategy is the (Tat-for-Tit). (P-II) reasons, therefore, that it will be either the "ConflictOutcome" with both are worst off, or the "(P-II) Wins" equilibrium with its victory resulting.
- After (P-II)'s move, (P-I), who is the deceiver in this hypergame's level, reasons that it is better off to start a sub-hypergame from the (P-II)'s (Defect) choice's node more than when choosing to (Cooperate) under its played (Tat-for-Tit) deceiving strategy; see Figure 4. So, the deceiver's "(P-I)" deception basis is to choose (C) first (i.e., conditional) in a (C-C) game with the "Compromise Outcome" results or (D) first in a (D-D) one. That is rather than a. picking (C) second in a (D-C) game allowing the "Opponent Victory/(P-II) Wins" outcome to occur with payoffs: (2, 4); or b. choosing (D) second in a (D-D) game, when the conflict output takes place to which it is not prepared yet or perceiving at this exact stage of its deceiving played-hypergame.
## ii. The (DHMIC)'s Play II: Deception-Derived Sub-(HG)
In this sub-hypergame, (P-I) having no misperception, or (Deception Factor)'s impact of (Play I) that we denote as: $(- (D)1 F)$, can either choose the (Defect "D") strategic preference or the (Cooperate/ Conditional Cooperation "C/CC") one, where $(0.5 < p \leq 1)$ in the two cases. Restoring the (P-II)'s previously perceived (and played) course of the game under the (Tit-for-Tat) strategy, (P-I) chooses any action (i.e., "C/CC" or "D") where both are rational-choice tracks under given circumstances.
A. Case I: (P-I) Reasoning About "Cooperated (CC) Strategy"
### Track I of Case I
- (P-I) reasons that if it moves to the (Conditional Cooperation) choice, (P-II) becomes better off by choosing the (Conditional Cooperation) or (Cooperate Only) action sequentially. The "Compromise Outcome" occurs with payoffs: (3, 3), if (P-II) acts likewise, moving to the (Conditional Cooperation) choice. The probability of "(P-II)'s preferring to the (Conditional Cooperation "CC") action after (P-I)'s (CC) one" is $(0.5 < p \leq 1)$, which is the rational choice of this interaction track. The resulting "Compromise Outcome" is the first Nash equilibrium of the entire hypergame. Considering that both players reach this solution point through an emerging sub-hypergame, we call that "sub-hypergame perfect Nash equilibrium." Here, each player made the best response to the other's strategy choice simultaneously, where no one may have the incentive to deviate from the reached position or the best payoffs it could achieve in the game.
- In another possibility, (P-II) being deceived in this sub-hypergame may move to the (Cooperate Only) action. Accordingly, the "Disguised Compromise; Disguised Opponent-Victory" outcome occurs, where the "actual" payoffs (i.e., not the misperceived ones) are: (4, 2). The probability of preferring the (Cooperate Only) possibility by (P-II) after (P-I)'s (CC) action is $(0.5 < p \leq 1)$. Still, it is not an equilibrium in the entire hypergame since (P-II) would rationally prefer to deviate from this reached position once the deception is revealed.
- Namely, this outcome is not stable with (P-II) misperceiving that both achieve the "Compromise Outcome" payoffs (i.e., "3, 3"), while they are not. In sum, the last hypergame-situation occurs when the second actor or (P-II) concedes more or nonequivalently in an extended level or scale for the first actor or (P-I)'s interests in an "unbalanced or semibalanced deterrence" relation. Further, the "Disguised Compromise or Disguised Opponent-Victory" outcome becomes in play when the first actor (i.e., deceiver), deceiving the second, cripples this deceived, under a disguised extended "extreme or limited"-threat case, whereas the second (i.e., deceived) does not act likewise in a symmetrical level or scale.
 Figure 5: Play II; Deception-Derived Sub-(HG)
#### Track II of Case I
- (P-II) reasoning that (P-I) is better off by the (Compromise Outcome) if it picked a cooperation choice sequentially may move to the (Defect) action instead, where $(0 \leq p < 0.5)$. However, (P-II) makes a risky choice, perceiving that it maximizes the expected utility of the game using the (Tat-for-Tit) strategy rather than the (Tit-for-Tat) one. At the same time, (P-II) is still deceived due to the Deception Factor's impact of "Play I" or the $(+D)1F$, while acquiring no (correct) information for revealing the deception, and still not having a knowledge that there is a hypergame being played or that it has misperceptions in the game. So, with (P-II) understanding that it leaves, but only one rational choice to (P-I) to move to (i.e., the (Cooperate) action) in a sequence, (P-II) gives (P-I) under this interaction-track the impulse to go to conflict, alternatively.
- The deceiver (P-I) perceives that (P-II)'s (Defect) move, following its (CC) action made first, means that this player (i.e., "P-II") seeks relative gains at the expense of (P-I)'s losses, if the last chooses (C) second in a (D-C) formula, contradicting its deception basis of the sub-hypergame it initiated. The probability of (P-I)'s choosing to (Cooperate Only) second here is $(0 \leq p < 0.5)$. If picked, (P-II)'s (Defect) choice results in the "(P-II)'s Victory and (P-I)'s Humiliating Capitation Outcome," in terms of defeating (P-I) twice now in the entire hypergame after (P-I)'s preferring to initiate a sub-hypergame than to (Cooperate) in Play I, and then playing the (CC) strategy in Play II losing conflict gains it sought to seize through mutual-cooperation and (misperceived) "Compromise Outcome." Based on that, the payoffs achieved by (P-II)'s second (Defect) choice and (P-I)'s second cooperation action (i.e., "CC" first and "Cooperate Only" second) become: $(1,4)$, so that (P-I) gets its zero-state worst payoff in the hypergame, with (P-II) getting its best.
- Moving from the previous configuration, the deceiver (P-I) is better off by preferring to (Defect) second, as a rational choice, in response to the strategic surprise made by (P-II) _ when the latter moved to the (Defect) action rather than a cooperation move of ("CC," or "Cooperate Only"), responding otherwise to the (P-I)'s (CC) choice made first. Therefore, (P-I) now does not only avoid the outcome: "(P-II)'s Victory and (P-I)'s Humiliating Capitulation" but also it responds-in-kind, answering the strategic surprise by another and achieving the conflict gains by the war (even if unexpected) instead of diplomacy; at a time when (P-II), the
deceived, misperceived that it would be the occurrence of "Conflict Outcome." The probability of picking (Defect) action by (P-I) under this context is: $(0.5 < p \leq 1)$. Rationally, (P-I) brings, at this position, the worst utility not to itself alone, but defeating (P-II) strategically with payoffs: $(1,1)$ for both. Thus, (P-I) makes (P-II) also get what would-be (P-I)'s worst gains only, $(1)$, if this player (i.e., "P-I") picked (Cooperate Only) action or cooperation second after (P-II)'s (Defecting) second; see Figure 5.
B. Case II: (P-I) Reasoning About a "Defected-(CC) Strategy"
- Under this case, the deceiver (P-I) reasons that (P-II) is rationally better off by moving to the (Defect) strategic choice sequentially if it chooses the (Conditional Cooperation) one. Given that (P-I) gets its zero-state worst payoff, (1), in both cases, suppose that (P-II) chooses to (Defect) in response to (P-I)'s (CC) if picked, (P-I) moves first to the (Defect) choice, under uncertain certainty of "Defected Conditional Cooperation Strategy," starting the sub-hypergame and expecting maximized utility to result.
- (P-I)'s move of (Defecting) first is a war stratagem that left no perceived rational choice to (P-II) except opting for the (Cooperate) action, while causing a strategic stalemate to this player where the "(P-I) Wins Outcome" occurs with payoffs: (4, 2). That is the "second sub-hypergame perfect Nash equilibrium" of the entire hypergame. Here, (P-II) changes its previously perceived and used (Tit-for-Tat) strategy, playing the (Tat-for-Tit) one under certain uncertainty conditions with the Deception Factor (+ (D)1 F) still in play. The probability of (P-II)'s moving to the (Cooperate) choice here is: $(0 < p < 1)$.
- If (P-II) moves to (Defect), then it is the (P-I)'s war stratagem success when leading (P-II) to the war or conflict choice after preparing for this war, using the (D) strategy first in a re-played game (i.e., the sub-hypergame). Under this condition, (P-I) can achieve its conflict gains through war rather than compromise with complete readiness for the action. The probability of the (P-II)'s (Defect) action is: $(0 \leq p < 0.5)$, with payoffs: $(2,1)$. Namely, (P-I) becomes slightly better off, getting its next next-best in the hypergame, and (P-II) is worse off.
- Dealing with certain uncertainty about (P-I)'s actual game, actions, and moves, (P-II) has another rational choice's track, that is, the (Sub-Hypergame Initiation), see Figure 5, where $(0.5 < p \leq 1)$.
- Still deceived and misperceiving (P-I)'s actual beliefs and perceptions about the game and the reality of conflict under the lack of (correct) information, (P-II) chooses to move to initiate a strategic surprise versus (P-I) as a deception basis in a replayed(hyper) game. iii. The (DHMIC)'s Play III: The (DTD-AE)'s Deception Sub-(HG)
- (P-II) is the deceiver in this hypergame or Play III, and the only one who knows that there is a hypergame being played or that (P-I) has misperceptions about it. (P-II) has two strategic preferences starting the sub-hypergame; either to (Defy/Respond-in-Kind) or (Escalate) first. Given Play II's moves' order, the rational choice for (P-II) in Play III becomes the (Response-in-Kind), where $(0.5 < p \leq 1)$. At the same time, the other possible action's (i.e., the (P-II)'s (Escalate "first") choice) probability is: $(0 \leq p < 0.5)$. In Play III, there is no new Deception Factor that affects (P-II), but it is still deceived due to Play I's Deception Factor, where we denote this relation as: $\{-(\mathsf{D})_3\mathsf{F} \& (+(\mathsf{D})_1\mathsf{F})\}$. Simultaneously, there is a Deception Factor operated versus (P-I) by (P-II) in Play III, while (P-I) is not influenced by the Deception Factor that existed in Play I since it was the deceiver within; we refer to this as $\{+(D)_3F \& (-(D)_1F)\}$. Also, Play III of the (DHMIC) reflects a "Decision Theoretic-Deterrence and Asymmetric Escalation's Deception Sub-Hypergame," which we abbreviate as "(DTD-AE)'s Deception Sub-(HG)." a. Case I: (P-II) Responding-in-Kind
- Play III begins with (P-II) choosing the (Response-in-Kind) action, defying (P-I) in the hypergame; see Figure 6. The deceived (P-I), in this play, understands that such a strategic surprise may not secure its victory if the "Conflict Outcome" occurs. Under this condition, (P-I) has two preferences. The first is to (Defect Only), avoiding the escalation of conflict, where the outcome: "Limited Conflict and (P-I) Deterred" occurs, representing the "third sub-hypergame perfect Nash equilibrium" in the entire hypergame. That equilibrium indicates the first position of a Constrained Limited Response Equilibrium or $(\mathsf{CLRE})_1$ in the (DHMIC), where the payoffs are: (2, 4). The (CLRE) concept, as well as the basic modeling of Play III, are borrowed from the Asymmetric Escalation Game of Perfect Deterrence Theory, which we adjusted, refining it to use under different circumstances.
 Figure 6: Play III; the (DTD-AE)'s Deception Sub-(HG)
- Thus, within Case I, (P-I) that defected in Play II, threatening (P-II) by a war gains' military seizure-directed-(Defect) choice, is surprised by (P-II) maneuvering it in Play III, moving to a deterrence-choice, and threatening further a capable and credible counter-escalation if (P-I) escalated first. The probability of (P-I)'s moving to the (Defect Only) choice is: $(0.5 < p \leq 1)$, which is the rational choice for this player consequently.
- A possible sequential "non-rational choice" may take place when (P-II) picks the (Defy/Response-in-Kind) action in Play III. That is, (P-I)'s moving to (Escalate "first") preference of probability: $(0 \leq p < 1)$, considering that this player chose to (Defect) first in Play II. Therefore, the rational choice for (P-II) is to (Counter- Escalate/Escalate) where $(0.5 < p \leq 1)$ and the outcome "All-Out Conflict; (P-II)'s Preventive War" occurs; simultaneously, the payoffs become: $(0,1)$.
- The last possibility explains that (P-I) provides (P-II) with the legitimate justification to rally against it in a preventive necessitated war. Either a collective security war (i.e., on a global level initiated through states-coalition against a system's aggressor(s)) or another for the common good (i.e., on a regional level waged by one nation or/and with the participation of some regional nations). Thence, if (P-II) gets its zero-state worst payoff (i.e., "1") in the entire hypergame, now, (P-I) becomes more severely worse off, accumulating its minus-state worst payoff _ or zero according to the used numerical-utility values, while being struck by a deterrence maintaining-waged- war/all-out conflict directed against it.
That reflects in part the old philosophy of preserving deterrence via wars not only to use deterrence strategy for preventing wars (i.e., the contemporary perspective) under these conditions:
a. If pre-efforts of keeping deterrence for avoiding wars failed. b. If this waged war/conflict is swept away from the homeland of any super/great power (i.e., the initiator power) and the (via war/conflict) deterrence-practicing-power(i.e., the responding anti-power). c. If this deterring war/all-out conflict is waged collectively.
- Under a less probability when $(0 \leq p < 0.5)$, (P-II) may opt for the (Defy Only/Retreat) non-rational choice in response to (P-I)'s (Escalate "first") action. In that case, the resulting outcome is: "(P-II)'s Humiliating Capitation and (P-I)'s Expansion," with payoffs: (4, 1). Thus, (P-I) gets its best utility, and (P-II) accumulates its zero-state worst yield so that the first wins (i.e., (P-I)'s Expansion) at the expense of the second's losses (i.e., (P-II)'s Capitulation) in a relative gains' hypergame-situation.
# b. Case II
While (P-II) is the deceiver in Play III and still deceived about (P-I)'s Deception Factor of Plays I and II, it may prefer to (Escalate) first. That would be a nonrational move, contradicting that of the (Defy/Response-in-Kind) rational choice _ given the last's highlyprobable (sole) rational choice of (P-I)'s (Defecting Only) sequentially, accompanied by high probability-equilibrium occurring, therefore. Comparingly, the (Counter- Escalation/Escalate) action competes as a rational choice with the (Defect Only) one if (P-II) chooses to (Escalate) first, starting the sub-hypergame. According to that, (P-I) has three strategic preferences, illustrated in Figure 6; these are:
a. (P-I) may concede its (Demand) of altering the status quo made at the beginning of the entire hypergame in Play I; however, (P-I) loses severely choosing to (Not Demand) at this game's stage. The outcome that occurs, in this case, is "(P-I)'s Humiliating Capitation and (P-II)'s Expansion," with payoffs: (1, 4). The (Not Demand) preference is not the rational choice for (P-I) in Play III if (P-II) preferred to (Escalate) first than to (Respond-in-Kind). The probability of (Not Demand) action is: $(0 \leq p < 0.5)$. b. The first rational choice for (P-I) if (P-II) escalated first is to (Defect Only) where $(0.5 < p \leq 1)$. Consequently, the "Limited Conflict; (P-I) Deterred" outcome occurs, with payoffs: (2, 4), which is the "fourth sub-hypergame perfect Nash equilibrium" in the entire hypergame. This equilibrium represents the second position of the Constrained Limited Response Equilibrium or $(\mathsf{CLRE})_2$ in our (DHMIC). Needless to say, if (P-II) initiates this sub-hypergame or Play III from the other node of Play II (i.e., the (P-I)'s (CC) node, not from the (P-I)'s (Defect) choice's one), this sub-hypergame's equilibriums would be the same, as long (P-II) or the initiator uses the same mixed- strategy choices of (Defy/Response-in-Kind) and (Escalate). c. The second rational choice for (P-I) if (P-II) preferred to (Escalate) first is to (Counter-Escalation/Escalate), where $(0.5 \leq p < 1)$. That is if we consider that both are (equivocally or equivalently) powers in the international system, and anyone's escalation is seen as a violation of the other's prestigious position among the system's actors (i.e., states) under another alliance sub-system that protects each in case of the war is initiated against it (i.e., the war against one in a given security alliance is considered a war against all). Therefore, the "All-Out Conflict; (P-I)'s Preventive War" outcome becomes in play, with payoffs: (1, 0) _ that are reversed from those resulting if (P-I) escalates first and (P-II) counter-escalates _ where both are worse off but
(P-II) becomes more severely worse off. So, inversely, it is (P-II) now that provides (P-I) with the legitimate justification for waging a preventive, deterring war/ all-out conflict against it.
## iv. The (DHMIC)'s Conclusion: Initial Stability in the System-Powers' Conflict and Deterrence Relation (ISPCDR)
This section focuses on setting two general conclusions of the (Deception Hypergame Model of Interstate Conflict) and its application, paving one way among many others that can be provided in further research for stabilizing the international system's structure. Whether or not the deception exists in multiple games of an unbalanced model played by and between states, the aim here is not to reveal a new facet of reality insofar as it is to setthe facts (more) solid, avoiding the occurrence of potentially similar conflicts in the future. This part introduces two equations we inferred from our built model and its application, which are applicable under certainty and uncertainty conditions. We admit and recommend that too many works are needed in this field, exploring and constructing a more solidified structure of one integrated theoretical body in conflict management or, fairer to say, conflict impediment.
a. Equations' Assumptions
Through using abbreviations of some terms needed, it can be said that:
- The international system's Power I is $\left(A_{1}\right)$, which is the most powerful or (para-) equal in power to "Power II."
- The international system's Power II is $\left(\mathrm{A}_{2}\right)$, which is less powerful than or (para-) equalin power to "Power I."
- Both $\left(\mathrm{A}_{1}\right)$ and $\left(\mathrm{A}_{2}\right)$ are aggressive or competitive actors, or that one actor is cooperative, and the other is aggressive or competitive.
- The international system is bipolar or multipolar, where other powers of a multipolar system competing against one another might be integrated under the same equations, given that the reasoning followed is kept static.
- $(T_{\mathsf{A}2})$ is the Threat (T) practiced by $(A_1)$ versus $(A_2)$ so that it is the " $(A_2)$ -directed- Threat."
- $(T_{A1})$ is the Threat (T) practiced by $(A_2)$ versus $(A_1)$ so that it is the "(A1)-directed-Threat."
- $\{(\pm D) F_n\}$ is the (Deception Factor) that may exist or not in real-world circumstances within inter-nation competitive or conflictual relations, which can be used by (n) or (Number) of actors, either $(A_1)$, $(A_2)$, or both. Here, $\{(+D) F_n\}$ refers to existing a "Deception/Uncertainty-Condition/State" in given interstate-interactions, while the $\{(-D) F_n\}$ indicates that there is a "Perception/Certainty-Condition/State" in the samecontext.
- (Ea) $^{-1}$ is the "Equilibrium (E) achieved for $\left(\mathsf{A}_{\uparrow}\right)$ or (a)," which is an "unstable outcome," denoting the instability of an outcome as $(-1)$.
- $(T_{A2})^2$ is a Multiplied Threat $(T^2)$ practiced by $(A_1)$ versus $(A_2)$ so that it is the " $(A_2)$ -directed-Doubled Threat."
- $\{(\mathsf{A} - \mathsf{M})\mathsf{A}_1\}$ is the "Action(s) and Move(s)" made by $(\mathsf{A}_1)$ and directed towards $(\mathsf{A}_2)$ or other powers/ states in the system.
- $\{(\mathrm{A} - \mathrm{M})_{\mathrm{A2}}\}$ is the "Action(s) and Move(s)" made by $(\mathsf{A}_2)$ and directed towards $(\mathsf{A}_1)$ or other powers/states in the system.
- $(-\mathrm{T}_{\mathrm{A}1})$ is the "Non-Threat $(-T)$ practiced by $(\mathsf{A}_2)$ versus $(\mathsf{A}_1)$," so that it is the " $(\mathsf{A}_1)$ -directed-Disabled Threat."
- $(\mathrm{Ea})^{+1}$ is the "Equilibrium (E) achieved for $\left(\mathbf{A}_{1}\right)$ or (a)," which is a "stable outcome," denoting the stability as (+1)."
- $(\mathrm{Eb})^{+1}$ is the "Equilibrium (E) achieved for $\left(\mathsf{A}_{2}\right)$ or (b)," which is a "stable outcome: (+1)."
- $\{(\mathrm{CC})\mathrm{F}\}$ is the (Capability and Credibility Factor of Threat T).
- $\{(\mathrm{CC})\mathrm{F}1\}$ is the (Capability and Credibility Factor of Threat T) for $(\mathsf{A}_1)$.
- $\{(\mathrm{CC})\mathrm{F}2\}$ is the (Capability and Credibility Factor of Threat T) for $(\mathsf{A}_2)$.
- $\{\mathsf{B}_{\mathsf{A}1}\}$ is the "Balance of Powers Relations" achieved for (A1) in the international system.
- $\{\mathsf{B}_{\mathsf{A}2}\}$ is the "Balance of Powers Relations" achieved for $(\mathsf{A}_2)$ in the international system.
- $\{(\mathrm{Ea} + \mathrm{b})^{+2}\}$ is " $(\mathsf{A}_1)$ " and $(\mathsf{A}_2)$ 's Equilibrium," simultaneously occurring in interstate conflict or deterrence relation within a bipolar or multipolar international system, which is "stable for both," denoting this as: $(+2)$.
- $\{(\mathtt{B}_{\mathtt{A}1} + _{\mathtt{A}2})^{(\mathtt{CC})\mathtt{F}1 + \mathtt{F}2}\}$ is the "Mutually Balance of Powers Relations" achieved for $(\mathsf{A}_1)$ and $(\mathsf{A}_2)$ simultaneously within a bipolar or multipolar international system, where the $\{(CC)F\}$ takes place by both $(\mathsf{A}_1)$ and $(\mathsf{A}_2)$.
b. Initial Stability in the System-Powers' Conflict and Deterrence Relation (ISPCDR): The Equations and Proving the Validity of the (DHMIC)'s Hypothesis
A. Equation I: Defection and Revisionism-State in One-Sided Deterrence Relation
$$
\begin{array}{l} \left\{\mathbf {A} _ {1} \left(\left(\mathbf {A} - \mathbf {M}\right) _ {\mathrm {A} 1} + \left(\mathrm {T} _ {\mathrm {A} 2}\right) ^ {(\mathrm {C C}) \mathrm {F} 1}\right) \right\} + \left\{\mathbf {A} _ {2} \left(\left(\mathbf {A} - \mathbf {M}\right) _ {\mathrm {A} 2} + (- \mathrm {T} _ {\mathrm {A} 1})\right) \right\} + \left\{(\pm \mathbf {D}) \mathrm {F} _ {\mathrm {n}} \right\} \cong \\(\mathbf {E} _ {\mathrm {a}}) ^ {- 1} \left((\mathbf {A} _ {1}) + (\mathbf {T} _ {\mathrm {A} 2}) ^ {(\mathrm {C C}) \mathrm {F} 1}\right) + \left\{\left((\mathbf {T} _ {\mathrm {A} 2}) ^ {2} \{(\mathrm {C C}) \mathrm {F} 1 \} \times (\mathbf {A} - \mathbf {M}) _ {\mathrm {A} 1}\right) \div \mathbf {A} _ {2} ((\mathbf {A} - \mathbf {M}) _ {\mathrm {A} 2} + \right. \\\left. \left(- \mathrm {T} _ {\mathrm {A} 1}\right)\right) \} \\\end{array}
$$
Explanation: Taking the numerical language aside, we can explain "Equation I" as follows: a. any action (i.e., decision) made concerning deterrence relation interstate or conflict among powers of the international system, and followed by a move (i.e., applied decision), by $(A_{1})$ _ that is conditioned by a threat practiced by $(A_{1})$ versus $(A_{2})$, which must be capable and credible; accumulating to that b. any action made in a similar trajectory and followed by a move by $(A_{2})$ where no threat can (ever) exist (actively/used at the moment, or non-actively/unused at the moment) versus $(A_{1})$; provided that c. there is uncertainty/deception and misperception, or certainty/non-deception and perception, conditioned by any (deterring/conflicting) power towards the other. Those assumptions lead or are approximately equal to these results: a. unstable equilibrium occurring in favor of $\left(\mathsf{A}_{1}\right)$ where a capable and credible threat it practices versus $\left(\mathsf{A}_{2}\right)$ exists (actively or non-actively) as a condition; accumulating to that b. a doubled or multiplied capable and credible threat manifests (actively or non-actively) in any action made, and followed by a move, by $\left(\mathsf{A}_{1}\right)$, that it is directed versus/divided into any action made, and followed by a move, by $\left(\mathsf{A}_{2}\right)$, in the same course, where no threat can (ever) exist (actively or non- actively) versus $\left(\mathsf{A}_{1}\right)$ under the given context.
B. Equation II: Corrected-Defection and Anti-Revisionism-State in MultipleSides-Oriented-Deterrence Relation
$$
\{\mathrm{A}_1\left(\left(\mathrm{A}-\mathrm{M}\right)_{\mathrm{A}1} + \left(\mathrm{T}_{\mathrm{A}2}\right)^{(\mathrm{CC})\mathrm{F}1}\right)\right\} + \left\{\mathrm{A}_2\left(\left(\mathrm{A}-\mathrm{M}\right)_{\mathrm{A}2} + \left(\mathrm{T}_{\mathrm{A}1}\right)\right)^{(\mathrm{CC})\mathrm{F}2}\right\} + \left\{\left(\pm\mathrm{D}\right)\mathrm{F}_n\right\} \cong \left(\mathrm{E}_a\right)^{+1}\left(\left(\mathrm{A}_1\right) + \left(\mathrm{T}_{\mathrm{A}2}\right)^{(\mathrm{CC})\mathrm{F}1}\right) + \left(\mathrm{E}_b\right)^{+1}\left(\left(\mathrm{A}_2\right) + \left(\mathrm{T}_{\mathrm{A}1}\right)^{(\mathrm{CC})\mathrm{F}2}\right) + \left\{\mathrm{B}_{\mathrm{A}1}\left(\left(\mathrm{T}_{\mathrm{A}2}\right)^{(\mathrm{CC})\mathrm{F}1} \times \left(\mathrm{A}-\mathbf{M}\right)_{\mathrm{A}1}\right) \div \mathrm{A}_2\left(\left(\mathrm{A}-\mathbf{M}\right)_{\mathrm{A}2} + \left(\mathrm{T}_{\mathrm{A}1}\right)^{(\mathrm{CC})\mathrm{F}2}\right)\right\} + \left\{\mathrm{B}_{\mathrm{A}2}\left(\left(\mathrm{T}_{\mathrm{A}1}\right)^{(\mathrm{CC})\mathrm{F}2} \times \left(\mathrm{A}-\mathrm{M}\right)_{\mathrm{A}2}\right) \div \mathrm{A}_1\left(\left(\mathrm{A}-\mathrm{M}\right)_{\mathrm{A}1} + \left(\mathrm{T}_{\mathrm{A}2}\right)^{(\mathrm{CC})\mathrm{F}1}\right)\right\}
$$
Explanation: Assuming that: a. any action made concerning deterrence relation interstate or conflict among powers of the international system and followed by a move, by $(\mathsf{A}_1)$ where a capable and credible threat exists (actively or non-actively) versus $(\mathsf{A}_2)$; b. any action made in a similar trajectory, and followed by a move by $(\mathsf{A}_2)$ where a capable and credible threat exists (actively or non-actively) versus $(\mathsf{A}_1)$; provided that c. there is uncertainty/deception and misperception, or certainty/non-deception and perception, conditioned by any (deterring/conflicting) power towards the other. Those assumptions lead to or are approximately equal to these results:
a. A stable equilibrium occurs in favor of $(\mathsf{A}_1)$, wherein $(\mathsf{A}_1)$ 's capable-and credible threat versus $(\mathsf{A}_2)$ exists (actively or non-actively). b. A stable equilibrium occurs in favor of $\left(\mathrm{A}_{2}\right)$, wherein $\left(\mathrm{A}_{2}\right)$ 's capable-and credible threat versus $\left(\mathrm{A}_{1}\right)$ exists (actively or non-actively). c. A balance achieved for $(\mathsf{A}_1)$ occurs within a deterrence relation interstate or conflict among powers of the system, where $(\mathsf{A}_1)$ 's capable-and credible threat versus $(\mathsf{A}_2)$ exists (actively or non-actively) in any action made and the followed move by $(\mathsf{A}_1)$. That is to be directed versus or/and divided into any made action and the followed move, by $(\mathsf{A}_2)$, in which $(\mathsf{A}_2)$ 's capable-and credible threat parallelly exists (actively or non-actively) versus $(\mathsf{A}_1)$.
d. A balance achieved for (A2) occurs within a deterrence relation interstate or conflict among powers of the system, where (A2)'s capable-and credible threat versus (A1) exists (actively or non-actively) in any action made and move followed by (A2). That is to be directed versus or/and divided into any made action, and the followed move by (A1), in which (A1)'s capable and credible threat parallelly exists (actively or non-actively) versus (A2). That is to say that: a. both parallel capable and credible threats are "directed versus, and divided into" whenever a "severe-clashing/conflictual relation" interstate becomes in play, in the given context; b. they are "directed versus" only in a "normal or non-conflictual relation" interstate where the competition or a renewed clash principle may exist; c. they are "divided into" only in a "normal clashing/conflictual relation" interstate, considering the explained circumstances.
## C. Conditionality Cases of the (ISPCDR)
The Initial Stability in (the system) Powers' Conflict and Deterrence Relation or the (ISPCDR) can be specified, based on Equations I and II's outputs, where the "Bipolarity or Multipolarity, (B-MP)" defines the international system's structure, as follows:
$$
\begin{array}{l} (\operatorname{ISPCDR}) _ {(\mathrm{B} - \mathrm{M P})} \cong \left\{\left(\mathrm{E} _ {\mathrm{a}}\right) ^ {+ 1} + \left(\mathrm{E} _ {\mathrm{b}}\right) ^ {+ 1} + \left(\mathrm{B} _ {\mathrm{A} 1}\right) ^ {(\mathrm{C C}) \mathrm{F} 1} + \left(\mathrm{B} _ {\mathrm{A} 2}\right) ^ {(\mathrm{C C}) \mathrm{F} 2}\right\} \\\cong \left\{\left(\mathrm{E} _ {\mathrm{a} + \mathrm{b}}\right) ^ {+ 2} + \left(\mathrm{B} _ {\mathrm{A} 1 + \mathrm{A} 2}\right) ^ {(\mathrm{C C}) \mathrm{F} 1 + \mathrm{F} 2}\right\} \end{array}
$$
Supposing that: a. each element mentioned above has a numerical, denoting, or indicating value, where we refer to this value as (v);" b. both system's powers, either $(\mathrm{A}_{1})$ or $(\mathrm{A}_{2})$, have capable and credible threats versus each other, that might be active and in use or non-active and in non-use by any or all under an observed context. Thence, the conditionality of (ISPCDR) can be formulated through these three cases:
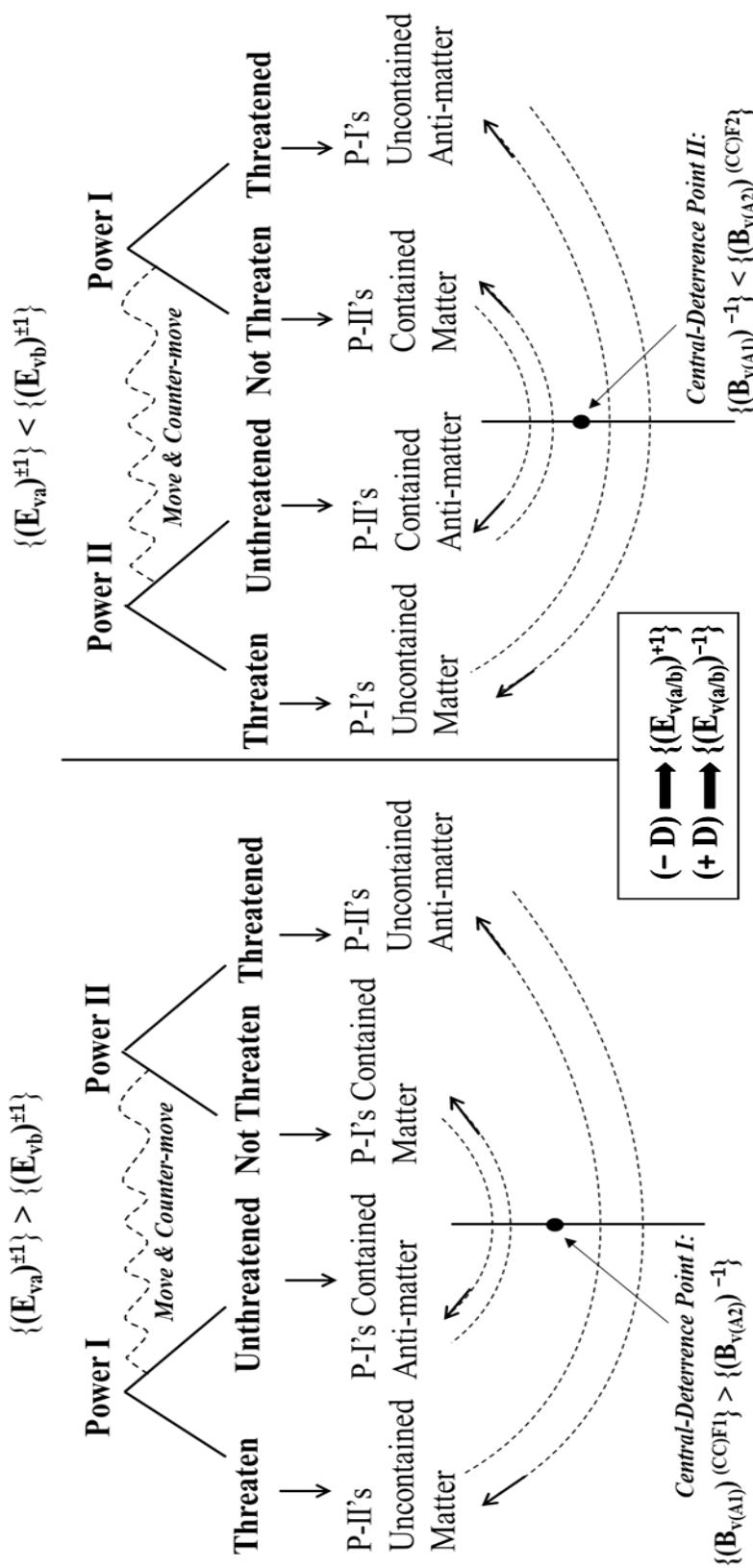
Case I: The Relatively-Balanced (ISPCDR) in a One-Sided Extreme or Limited-Threat State:
$$
\begin{array}{l} \text{if} \left\{\left(\mathrm{E} _ {\mathrm{v a}}\right) ^ {\pm 1} \neq \left\{\left(\mathrm{E} _ {\mathrm{v b}}\right) ^ {\pm 1} \right\}, \text{where :} \left\{\left(\mathrm{E} _ {\mathrm{v a}}\right) ^ {\pm 1} > \left\{\left(\mathrm{E} _ {\mathrm{v b}}\right) ^ {\pm 1} \right\} , \text{o r} \left\{\left(\mathrm{E} _ {\mathrm{v a}}\right) ^ {\pm 1} < \left\{\left(\mathrm{E} _ {\mathrm{v b}}\right) ^ {\pm 1} \right\} ; \text{then :} \\ \left\{\left(\mathbf{B} _ {\mathrm{v} (\mathrm{A} 1)}\right) ^ {(\mathrm{C C}) \mathrm{F} 1} \neq \left\{\left(\mathbf{B} _ {\mathrm{v} (\mathrm{A} 2)}\right) ^ {(\mathrm{C C}) \mathrm{F} 2} \right\}, \quad \text{where :} \quad \left\{\left(\mathbf{B} _ {\mathrm{v} (\mathrm{A} 1)}\right) ^ {(\mathrm{C C}) \mathrm{F} 1} > \left\{\left(\mathbf{B} _ {\mathrm{v} (\mathrm{A} 2)}\right) ^ {(\mathrm{C C}) \mathrm{F} 2} \right\}, \quad \text{o r} \\ \left\{\left(\mathbf{B} _ {\mathrm{v} (\mathrm{A} 1)}\right) ^ {(\mathrm{C C}) \mathrm{F} 1} < \left\{\left(\mathbf{B} _ {\mathrm{v} (\mathrm{A} 2)}\right) ^ {(\mathrm{C C}) \mathrm{F} 2} \right\}. \end{array}
$$
Under this case, $(\mathsf{A}_1)$ 's capable and credible threat becomes "active and in use" while $(\mathsf{A}_2)$ 's capable and credible threat is "non-active and in non-use," when $\{(E_{va})^{\pm 1}\} > \{(E_{vb})^{\pm 1}\}$; or vice versa when $\{(E_{va})^{\pm 1}\} < \{(E_{vb})^{\pm 1}\}$. Based on that, the equilibrium occurring might be permanently stable or not. The $\{(E_{va})^{+1}$; or $(E_{vb})^{+1}\}$ is a permanently stable equilibrium for Actor I or Actor II, respectively, under the "Relatively-Balanced (ISPCDR)," occurring in perception and (complete/incomplete) certainty conditions. In contrast, the $\{(E_{va})^{-1}$; or $(E_{vb})^{-1}\}$ is a permanently unstable equilibrium, namely, a temporarily stable one, for both under the "Relatively-Balanced (ISPCDR)," taking place in deception and misperception or certain uncertainty conditions, since the deceived or misperceiving actor, whoever is, would have the incentive to deviate from a reached position under such uncertainty, once the deception or misperception becomes exposed. Comparingly, all actors rationally agree on known and correctly perceived (different) values of another equilibrium achieved under perception and (complete/incomplete) certainty conditions, as long each stand on the best position of utility they could ever obtain within a "Relatively-Balanced (ISPCDR)."
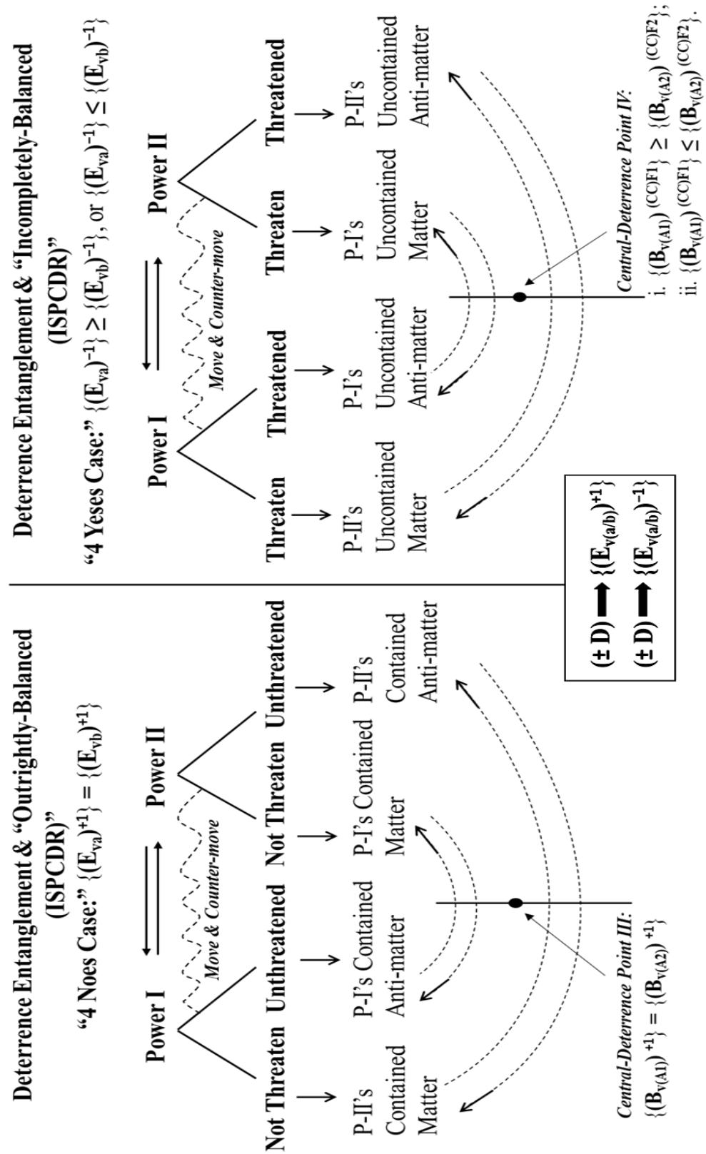
Case II: The Outrightly-Balanced (ISPCDR) in an Equally or Equivalently Non-activated Threat-State:
If $\{(\mathsf{E}_{\mathrm{va}})^{+1}\} = \{(\mathsf{E}_{\mathrm{vb}})^{+1}\}$, and then $\{(\mathsf{B}_{\mathrm{v(A1)}})^{\mathrm{(CC)F1}}\} = \{(\mathsf{B}_{\mathrm{v(A2)}})^{\mathrm{(CC)F2}}\}$, where the equilibrium is stable, referring to that by (+1), under whatever conditions (i.e., perception/certainty, or deception/uncertainty). Within that case, both actors' capable and credible threats are "non-active and in non-use."
Case III: The Incompletely-Balanced (ISPCDR) in a Mutually Extreme or Limited-ThreatState:
If $\{(\mathrm{Eva})^{-1}\} \geq \{(\mathrm{Evb})^{-1}\}$, or $\{(\mathrm{Eva})^{-1}\} \leq \{(\mathrm{Evb})^{-1}\}$, and then $\{(\mathrm{Bv(A1)})^{(\mathrm{CC})\mathrm{F1}}\} \geq \{(\mathrm{Bv(A2)})^{(\mathrm{CC})\mathrm{F2}}\}$, or $\{(\mathrm{Bv(A1)})^{(\mathrm{CC})\mathrm{F1}}\} \leq \{(\mathrm{Bv(A2)})^{(\mathrm{CC})\mathrm{F2}}\}$, where the equilibrium occurring in this case is permanently unstable, that is, temporarily stable only, referring to that by $(-1)$, under perception or deception conditions. Namely, any actor, under perception and certainty or deception and uncertainty circumstances, may have the incentive to deviate from a status quo of being "threatened" if not reached reasonably in a relative balance's perception state. In that case, both actors' capable and credible threats become "active and in use."
## D. Proving the (DHMIC)'s Hypothesis
According to Equations I and II, the "absolute gains" obtained by state-actors (i.e., the system's powers under the illustrated manner) of cooperation or joint understandings and agreements-based-Liberalist perspective of interstate relations manifest and defy strongly the "relative gains" that define a conflict and competition-dominated-Realist view of self- interested states seeking the power-accumulation goal at each other's expense. Thus, this work reflects a re-balanced view of the balance of power relations in interstate conflicts where the deterrence relationship stability becomes under question. Still, further research is necessitated in the field. Lastly, we prove the validity of our "Deception Hypergame Model of Interstate Conflict" hypothesis: "The initial stability in the system powers' conflict and deterrence relation is achieved through joint equilibria simultaneously occurring and the opponent-directed-capable and credible threat-existing in a mutual deterrence relationship, under certainty and perception, or uncertainty and deception conditions."
# III. THE CONFLICT OR WAR IMPEDIMENT STRATEGIC APPROACH, PART II
### a) Theoretical Roots and Assumptions
- This study's developed (Deterrence Entanglement Law) is based on a (Threat-for- Deterrence) modeling, which partially uses game theory assumptions of rationality and the expected utility in explaining the interactions among two rational powers or actors conflicting in a regional or international system.
- The modeling depends on describing the system powers/actors' moves and countermoves during a crisis, clash, conflict, or war within extended or immediate deterrence relations, considering both perception and (complete/incomplete) certainty or deception and certain uncertainty conditions.
- Further, the (Threat-for-Deterrence) modeling reconciles the misperception and deception factors with the rationality argument. The factors that distinguish hypergame models under complex-conflict situations where the difference in information, understandings, and perceptions exists among players. The players, therefore, might be deceivers or deceived within given generalizable reasonable interactions.
- Our modeling differs in its basics, purpose, and application from the theory of moves, which explains an interplay of moves and countermoves of players in a sequential nature's rational-choice modeling under apparent perception conditions.
- Mainly, our (Threat-for-Deterrence) modeling is a simulation of what we call a "Deterrence Entanglement Law" in global politics, within which the firm premise is:
The (Matter) at a move is an (Anti-matter) at this move's countermove, and the (Anti-matter) at a move is a (Matter) at this move's countermove; where:
a. The (Matter) for one actor/power is an (Anti-matter) for the other at the same move and countermove, and likewise, the (Anti-matter) for one actor/power is a (Matter) for the other at the same move and countermove. b. Both the (Matter) and the (Anti-matter) are the (same "Matter or Threat-Object") at the (same "mutually move and countermove"), while they are (different "Matters or Threat-Objects") at (different "mutually moves and countermoves"). c. The moves of one movement of (Matter and Anti-matter) by an actor/power, and the countermoves of its opposite movement of (Anti-matter and Matter) in the same direction by the other actor/power, are made simultaneously or sequentially.
d. A (move) and (countermove) occur in opposite ways of the same direction, composing a comprehensive (Threat-for-Deterrence) modeling of a (Deterrence Entanglement Law).
- That is to say, the modeling cases' interrelated relations are about:
- {Threaten Threatened} and {Not Threaten Unthreatened} subcases. Obviously, those relations are not about: {(Threaten, Threaten); (Not Threaten, Not Threaten); (Threatened, Threatened); or (Unthreatened, Unthreatened)} strategic preferences of two actors/ powers of the system if a conflict exists. Thus, the modeling defines (Deterrence Entanglement Law) thorough cases for the conflict/war impediment purpose _ when a movement of moves and its opposite movement in the same direction of countermoves address an observed context of conflict interstate and/or deterrence relation. Therefore, the (DEL) does not focus on the interactive decision-making's possible strategic actions of separate situations in a conflict, which is considered a general law for conflict management through governing the conflict/war impediment possibilitiesand equilibria first. e. The first (Matter and Anti-matter), as well as the second, reflect two different (Threat Objects), existing in opposite ways of the same direction, that must be equivalently equal in "level" and/or "scale." Based on that, a "deterrence sufficiency" condition in line with the "(Threat Objects) capability and credibility criteria" becomes partially or entirely fulfilled for reaching a state of balance of an "Initial Stability in (the System) Powers' Conflict and Deterrence Relation (ISPCDR)."
- Within this modeling, "Power I or (P-I)" is an actor (i.e., state) in the international system that is in a state of clash/conflict/war with "Power II." Similarly, "Power II or (P-II)" is the system actor that is in a state of clash/conflict/war with "Power I." We refer to both (P-I) and (P-II) as {(Actor I), (A1), or (a)}, and {(Actor II), (A2) or (b)}, respectively. Both are clashing, or conflicting, powers/actors in a regional or international system, where any can be (para-) equal in military, economic, political, or/and technological power to the other, or that one is more powerful than the other. Again, the (ISPCDR) is the abbreviation of "Initial Stability in (the System) Powers' Conflict and Deterrence Relation."
- The built (Threat-for-Deterrence) modeling is considered the extension and advanced development of the (Deception Hypergame Model of Interstate Conflict "DHMIC") and its related (Initial Stability in the System Powers' Conflict and
Deterrence Relation "ISPCDR")s conditionality cases. Thence, the (Deterrence Entanglement Law) addresses:
a. Case I of Relatively-Balanced (ISPCDR) where $\{(Eva)^{\pm 1}\} \neq \{(Evb)^{\pm 1}\}$; namely, $\{(Eva)^{\pm 1}\} > \{(Evb)^{\pm 1}\}$, or $\{(Eva)^{\pm 1}\} < \{(Evb)^{\pm 1}\}$. b. Case II of Outrightly-Balanced (ISPCDR) where $\{(\mathrm{Eva})^{+1}\} = \{(\mathrm{Evb})^{+1}\}$. c. Case III of Incompletely-Balanced (ISPCDR) where $\{(Eva)^{-1}\} \geq \{(Evb)^{-1}\}$, or $\{(Eva)^{-1}\} \leq \{(Evb)^{-1}\}$. d. Three conditions: 1) The (Eva) or (Evb) is the "value of an equilibrium" for each power/actor within the (DEL)'s cases, where both include capable and credible threats versus each other. 2) The ("Capability and Credibility of Threat" Factor, "CC(F)") under (Balance of Deterrence, "B") might be considered if the (Threat Object) is "in use, active, and enabled," or not if the (Threat Object) is "in non-use, inactive, and disabled." 3) The (Balance of Deterrence, "B") of one power/actor might be negative $(-1)$ if it cannot counter the other power/actor's (B), or positive $(+1)$ if it can counter it, in either the level or/and scale of deterrence. We abbreviate the ("Capability and Credibility of Threat" Factor) as the "CC(F1)" for (A1) and "CC(F2)" for (A2), given that the definition provided for Actor I and Actor II under the "Threat-for-Deterrence" modeling is employed. e. Deterrence; as a term that means that the war or the all-out conflict is avoidable. The deterrence explained within the confines of "Threat-for-Deterrence" modeling fails should the war or all-out conflict ensue. The occurrence of limitedconflicts is seen under the (Deterrence Entanglement Law) as one way to hinder the war or all-out conflict possibility in some actual complex-conflict situations. Thus, this view agrees in part with the old perspective of deterrence as an instrument of broader (national/international) security strategy for avoiding wars via (not wars as it had been seen before World War II but) limited conflicts. If the (Threat Object I) or (Threat Object II), which are both capable and credible and can be active or inactive, in use for deterrence or in a non-use, and enabled or disabled within the (DEL)'s cases, is shifted to be applied in a state of active war or active all-out conflict, once again, the deterrence meant under the (DEL) is failed, and no "Balance of Deterrence (B)" positions either relative, outright, or incomplete are to be detected. That is why implementing the (DEL) is a vital line between impeding the war or all out-conflict possibilities, which is the essential purpose, if correctly its rules are employed, or witnessing them.
- Therefore, the aim of our advanced modeling is enhanced further to answer what if the "All-Out
Conflict or War Outcome" was to be avoided before any actual-game situations occur, perception or deception ones? Namely, what if there was a "law" that governs the human flawed or flawless actions and behaviors, whether the actors were rational and completely or incompletely perceiving the other actors' strategic preferences in perception cases, within a regional/international system, or they were deceived or deceivers under intentional misperception-situations?
- Accordingly, the "Threat-for-Deterrence" modeling differs from other (hyper)game- theoretic models in considering "comprehensive cases of mutually dual moves and countermoves" rather than "actions in one/multi-situation(s) of conflict in a (hyper)game" played by actors of the system. Thus, it expresses "systemic cases for stabilizing relations" among clashing/conflicting actors under "Deterrence Entanglement Law," which is a deterrence instrument needed where the peace becomes inferior to a superior state of war. If correctly applied, we assume that the all-out conflict or war is avoidable even in cases where an extended deterrence applied along with a long period of time fails and an immediate deterrence of an aggressive actor is necessitated before the war ensues.
- Ultimately, the "Threat-for-Deterrence" modeling, which is a simulation of "Deterrence Entanglement Law," primary assumption is: "The conflict or war among powers or actors (i.e., states) of the international system is avoidable and maneuverable within extended or immediate deterrence spheres if the actors' conflict-position regionally or internationally is preemptively amended under perceived-relative, absolute, or incomplete gains' environment." That is what we move from and prove under "Relatively, Outrightly, and Incompletely-Balanced (ISPCDR)" cases, where each case might be an equilibrium for impeding a war or conflict interstate considering given conditions.
b) The (Deterrence Entanglement Law) Explanation in a (Threat-for-Deterrence)Modeling: Three Key Cases of Mutually Dual Moves and Countermoves i. Preliminary
There are some assumptions on which our reat-for-Deterrence" modeling is built, as follows:
a. A (Threaten) move or countermove made towards (Power II) by (Power I) equals (P-II's Uncontained Matter). b. A (Threatened) countermove or move made by (Power II) in interaction with (P-I)'s (Threaten) move or countermove respectively, equals: (P-II's Uncontained Anti-matter). c. A (Threaten) move or countermove made towards (Power I) by (Power II) equals (P-I's Uncontained Matter).
d. A (Threatened) countermove or move made by (Power I) in interaction with (P-II)'s (Threaten) move or countermove respectively, equals: (P-I's Uncontained Anti-matter). e. A (Not Threaten) move or countermove made towards (Power II) by (Power I) equals (P-II's Contained Matter). f. An (Unthreatened) countermove or move made by (Power II) in interaction with (P-I)'s (Not Threaten) move or countermove consecutively equals: (P-II's Contained Anti-matter). g. A (Not Threaten) move or countermove made towards (Power I) by (Power II) equals (P-I's Contained Matter). h. An (Unthreatened) countermove or move made by (Power I) in interaction with (P-II)'s (Not Threaten) move or countermove consecutively equals: (P-I's Contained Anti-matter). i. In the eight assumptions mentioned above, the (DEL)'s fundamental premise is a given, which is: "The (Matter) and (Anti-matter) are the same (Matter or Threat-Object) at the same (mutually move and countermove) _ where the (Matter) for one power/actor is an (Anti-matter) for the other at the same move and countermove, and vice versa. Simultaneously, the (Matter) and (Anti-matter) are different (Matters or Threat-Objects) at different (mutually moves and countermoves)."
## ii. The Relatively-Balanced (ISPCDR) Where $\{(Eva)^{\pm 1}\} \neq \{(Evb)^{\pm 1}\}$: Yes-No/No-Yes Case In the Relatively-Balanced (ISPCDR), the first (mutually move and countermove) is $\{(\text{Threaten}) \longleftrightarrow (\text{Threatened})\}$, where the (Threat-Object I) of "one power/actor" exists, actively or in an enabled manner. Similarly, the second (mutually move and countermove) is $\{(\text{Unthreatened}) \longleftrightarrow (\text{Not Threaten})\}$, where the (Threat-Object II) of the "otherpower/actor" takes place, simultaneously, in an opposite way of the same direction, however inactively or in a disabled mode.
a. Under the Relatively-Balanced (ISPCDR), Where $\{(Eva)^{\pm 1}\} >\{(Evb)^{\pm 1}\}$, There Are Two Sub-cases:
- Sub-case I: Power I's movement is defined by the $\{(\text { Threaten }); (\text { Unthreatened }) \}$ moves, while Power II's opposite movement, in the same direction, becomes determined by the $\{(\text { Threatened }); (\text { Not Threaten }) \}$ countermoves, consecutively; see Figure 7.
- Sub-case II: Power II's movement is defined by the {(Not Threaten); (Threatened)} moves, whereas Power I's opposite movement, in the same direction, becomes determined by the {(Unthreatened); (Threaten)} countermoves, respectively.
Under "perception and complete/incomplete certainty" conditions, the utility is: $\{(\mathsf{S4},\mathsf{S2})^+\}$ _ given that (x, y) is the payoff to (Power I), the payoff to (Power II), respectively. That outcome represents the "Opponent Victory Equilibrium," which is stable since no power/actor may have the incentive to deviate from such an equilibrium or solution point occurring rationally, achieving the best position for all simultaneously and correctly perceived within the movement and opposite movement of both in a reasonable order. In contrast, under "deception and certain uncertainty" conditions, where (P-I) is the deceiver and (P-II) is the deceived, the utility is: $\{(\mathsf{S4},\mathsf{S2})^-\}$ of a "Disguised Opponent-Victory Equilibrium;" see Figure 9. The latter outcome is temporarily stable only, which cannot be permanently stable because the deceived (P-II) misperceives it; therefore, this player may have the incentive to deviate once revealing that (P-I) misled it under a deception/intentional misperception state of the Relatively-Balanced (ISPCDR) case.
Within the Relatively-Balanced (ISPCDR) case of the Deterrence Entanglement Law, the "Central-Deterrence Point $I$ " exists where: $\{(B_{v(A1)})^{(CC)F1}\} > \{(B_{v(A2)})^{-1}\}$, given that $(-1)$ means that the last is a "Negative Balance of $(A_2)$ " with a value that cannot counter-balance the $(A_1)$ 's (B) in either the level/ or/and scale under a given context of observation and its relevant factors. However, the mentioned (B) positions do not affect the validity and stability of the "Opponent Victory Equilibrium" if it existed in perception and complete/incomplete certainty conditions.
 Deterrence Entanglement & "Relatively-Balanced (ISPCDR)" "Yes-No/No-Yes Case:" $\{(\mathbf{E}_{\mathrm{va}})^{\pm 1}\} \neq \{(\mathbf{E}_{\mathrm{vb}})^{\pm 1}\}$ Figure 7: Deterrence Entanglement Law and the "Relatively-Balanced (ISPCDR)" Case
The reason is that both positions of balance now include $(\mathsf{A}_1)$ 's capable and credible- (Threat Object) active and enabled, and $(\mathsf{A}_2)$ 's capable and credible-one, in an opposite way of the same direction, inactive and disabled, simultaneously, while all actors are aware of that.
b. Under the Relatively-Balanced (ISPCDR), Where $\{(Eva)^{\pm 1}\} < \{(Evb)^{\pm 1}\}$, There Are Two Sub-cases
- Sub-case I: Power II's movement is defined by the $\{(\text { Threaten }); (\text { Unthreatened })\}$ moves, while Power I's opposite movement, in the same direction, becomes determined by the $\{(\text { Threatened }); (\text { Not Threaten })\}$ countermoves, consecutively.
- Sub-case II: Power I's movement is defined by the $\{(\text{Not Threaten}); (\text{Threatened})\}$ moves, whereas Power II's opposite movement, in the same direction, becomes determined by the $\{(\text{Unthreatened}); (\text{Threaten})\}$ countermoves, respectively; see Figure 7.
Under "perception and complete/incomplete certainty" conditions, the utility is: $\{(\mathrm{S}2, \mathrm{S}4)^{+}\}$, of an "Opponent Victory Equilibrium," that is a stable outcome, where no power/actor may have the impulse to deviate from this position that occurs depending on all players' rationality, and correctly perceived, within the movement and opposite movement of both in a reasonable order.
In "deception and certain uncertainty" conditions, where (P-II) is the deceiver and (P-I) is the deceived, the utility is: $\{(S2, S4)^{-}\}$ of another case of "Disguised Opponent-Victory Equilibrium;" see Figure 9. This equilibrium is a temporarily stable outcome only (namely, it cannot be permanently stable like the other above case) because the deceived (P-I) misperceives it. Thus, (P-I) may have the incentive to deviate if it reveals that (P-II) misled it under such a deception/intentional misperception state of the Relatively-Balanced(ISPCDR) case.
Within the "Relatively-Balanced (ISPCDR)" case of the Deterrence Entanglement Law, the "Central-Deterrence Point II" exists where: $\{(Bv(A1))^{-1}\} < \{(Bv(A2))^{(CC)F2}\}$, given that $(-1)$ means that the first is a "Negative Balance of $(A_1)$ " including $(A1)$ 's "inactive and disabled" capable and credible threat, which cannot counter-balance the $(A_2)$ 's (B) in either the level or the scale, considering this given context.
## iii. The Outrightly-Balanced (ISPCDR) Where the $\{(Eva)^{+7}\} = \{(Evb)^{+7}\}$: 4 Noes Case In the Outrightly-Balanced (ISPCDR), the first (mutually move and countermove) is {Not Threaten} $\Longleftrightarrow$ (Unthreatened)}, where the (Threat-Object I) of one power/actor exists, inactively or in a disabled manner. Similarly, the second (mutually move and countermove) is {Unthreatened}
(Not Threaten) $\}$, where the (Threat-Object II) of the other power/actor takes place, simultaneously, in an opposite way of the samedirection, also inactively or in a disabled mode. It is explained as follows:
- Sub-case I: Power I's movement is defined by the {(Not Threaten); (Unthreatened)} moves, while Power II's opposite movement, in the same direction, is shaped through the {(Unthreatened); (Not Threaten)} countermoves, consecutively.
- Sub-case II: Power II's movement is defined by the $\{(\text{Not Threaten}); (\text{Unthreatened})\}$ moves, whereas Power I's opposite movement, in the same direction, becomes determined by the $\{(\text{Unthreatened}); (\text{Not Threaten})\}$ countermoves, respectively; see Figure 8.
In both sub-cases, the "Compromise Equilibrium" becomes in play, where the utility is: $\{(\mathsf{S3},\mathsf{S3})^{+}\}$, see Figure 9, under perception and complete/incomplete certainty, or deception and certain uncertainty conditions. This equilibrium is stable either correctly or incorrectly perceived, since no power/actor during a crisis, clash, conflict, or war arising among both may have the incentive to deviate from this position, once reached, of the highest and most stable utility for all when making their movement and opposite movement in a rational order, simultaneously or sequentially.
Within the Outrightly-Balanced (ISPCDR) case of the Deterrence Entanglement Law, the "Central-Deterrence Point Ill" exists where $\{(B_{v(A1)})^{+1}\} = \{(B_{v(A2)})^{+1}\}$, coinciding with the occurrence of mutually "Positive Deterrence-Balance of (A1) and (A2)." The positivity that we refer to by (+1), under which no power or actor might threaten the other by the capable and credible (Threat Object I or II), which both become inactive and disabled.
 Figure 8: Deterrence Entanglement Law and the "Outrightly-Balanced (ISPCDR)" & "Incompletely-Balanced (ISPCDR)" Cases
Considering that positivity, each "Balance of Deterrence" position can counter the other regarding the level and/or scale in a given context of observation. So, comprehensively, the perfect or most optimal state of balance of the (ISPCDR) achieves here.
iv. The Incompletely-Balanced (ISPCDR) Where $\{(Eva)^{-1}\} \geq \{(Evb)^{-1}\}$, or $\{(Eva)^{-1}\} \leq \{(Evb)^{-1}\}$: 4 Yeses Case In the Incompletely-Balanced (ISPCDR), the first (mutually move and countermove) is $\{(\text{Threaten}) \longleftrightarrow (\text{Threatened})\}$, where the (Threat-Object I) of one power/actor exists, actively or in an enabled manner. Similarly, the second (mutually move and countermove) is $\{(\text{Threatened}) \longleftrightarrow (\text{Threaten})\}$, where the (Threat-Object II) of the other power/actor takes place, simultaneously, in an opposite way of the same direction, also actively or in an enabled mode. Thus, the sub-cases of this specific case are:
- Sub-case I: Power I's movement is defined by the {Threaten); (Threatened)} moves while Power II's opposite movement, in the same direction, becomes determined by the {Threatened); (Threaten)} countermoves consecutively.
- Sub-case II: Power II's movement is defined by the {Threaten); (Threatened)} moves, whereas Power I's opposite movement, in the same direction, becomes determined by the {Threatened); (Threaten)} countermoves, respectively; see Figure 8.
In both sub-cases, the "Status Quo Equilibrium" occurs, which is unstable, $(-1)$ under perception and (complete/incomplete) certainty or deception and certain uncertainty conditions. The reason is that any power/actor during a crisis, clash, conflict, or war arising among both may have the impulse to deviate from a position of being "threatened" in a status quo situation if not reached rationally within a perception state of relative balance case. Should a deviation to the "Relatively-Balanced (ISPCDR)" equilibrium be the case rationally and in a reasonable order where one actor's movement is shaped by the $\{(\text{Not Threaten}); (\text{Threatened})\}$ moves, or opposite movement of the same direction is defined by the $\{(\text{Threatened}); (\text{Not Threaten})\}$ countermoves, the equilibrium occurring, therefore, becomes stable under perception conditions.
The utility possibilities here are: $\{(S2, S2)^{-}\}$ and $\{(S3, S2)^{-}\}$ if $\{(\text{Eva})^{-1}\} \geq \{(\text{Evb})^{-1}\}$, or $\{(S2, S2)^{-}\}$ and $\{(S2, S3)^{-}\}$ if $\{(\text{Eva})^{-1}\} \leq \{(\text{Evb})^{-1}\}$. The "Status Quo's Deviations I and II" directions are illustrated in Figure 9, where the "Relatively-Balanced (ISPCDR)" equilibrium becomes the first preferred deviation-line rationally in a "Threat-for-Deterrence" modeling. Then, the "Outrightly-Balanced (ISPCDR)" equilibrium comes second according to the probability assumptions shown: $\{P1 < P2 \leq P3\}$.
Within the Incompletely-Balanced (ISPCDR) case of the Deterrence Entanglement Law, the "Central-Deterrence Point IV" exists where: i. $\{(B_{\mathrm{v(A1)}})^{(\mathrm{CC})F1}\} \geq$ $\{(B_{\mathrm{v(A2)}})^{(\mathrm{CC})F2}\}$ if $\{(E_{\mathrm{va}})^{-1}\} \geq \{(E_{\mathrm{vb}})^{-1}\}$, or ii. $\{(B_{\mathrm{v(A1)}})^{(\mathrm{CC})F1}\} \leq \{(B_{\mathrm{v(A2)}})^{(\mathrm{CC})F2}\}$ if $\{(E_{\mathrm{va}})^{-1}\} \leq \{(E_{\mathrm{vb}})^{-1}\}$, given that both "Balance of Deterrence" positions include "active and enabled" capable and credible-(Threat Objects I and II).
Accordingly, the "Status Quo Equilibrium" is a crucial solution-point for achieving an incompletely-balance of some challenging deterrence relations and complicated conflicts, avoiding the war possibility further through a (Backward Induction Mechanism). Within this mechanism, it can be transformed a (Deterrence Entanglement) state from a "Relatively-Balanced (ISPCDR)" to an "Incompletely-Balanced (ISPCDR)" for reaching an "Outrightly-Balanced (ISPCDR)" third, given that shifting the Relatively-Balanced case to an Outrightly-Balanced one necessitates the Incompletely-Balanced connecting-state to take place first. Although the $\{P1 < P2 \leq P3\}$, still transforming (P3) into (P2) requires moving back by a transition to (P1) first. That is because of the stability in utility achieved within the (P3) case in perception and certainty conditions (or even in some deception and uncertainty cases as long the deception is not exposed) since the opponent is reasonably better off by securing relative gains (i.e., "S4" vs. "S2") it could acquire at the expense of the other under an equilibrium correctly (or incorrectly) perceived. In sum, the destabilization of (P3)'s relative balance is to occur first by (P1)'s incomplete-balance interference for achieving a rational movement to (P2)'s outright-balance second once (P3) is disrupted. In that case, both actors become rationally better off by deviating from the recently reached position of incomplete-balance but to the outright-balance position, not the relative-balance one, under the Backward Induction Mechanism.
The Backward Induction Mechanism can also be used as a transformation bridge between two states of status quo if one of them is most likely to be avoiding the war possibility with a successful deterrence impeding the war/all-out conflict, which represents the (Status Quo Equilibrium) within the (DEL). Comparingly, the other state of status quo is chaotic, which takes place second after an active war or active all-out conflict occurring in the same context once the deterrence fails. In that case, both positions still reflect an unstable outcome, but the future one is more destructing than stabilizing. At the same time, the past position becomes the most stabilizing force of an instability accompanying a status quo, to which the Backward Induction is being made, restoring the "Balance of Deterrence (B)" under the Incompletely-Balanced (ISPCDR) case.
Table Assumptions:
i. $(\mathbf{x},\mathbf{y})$: The Payoff to (Power I), the Payoff to (Power II). ii. $\{\mathrm{S}2 < \mathrm{S}3 < \mathrm{S}4\}$ iii. Cases Probability $(P)$
- $\{P1 < P2 \leq P3\}$
- $\{P1 + P2 + P3 = 1\}$ iv. $(\mathrm{x},\mathrm{y})^{\pm}$
- It Is a Stable Outcome,
- $(+)$, Under Perception & Certainty.
- It Is an Unstable Outcome,
- $(-)$, Under Deception & Uncertainty. v. $(\mathbf{x},\mathbf{y})^{+}$ Is a Stable Outcome. vi. $(\mathrm{x},\mathrm{y})^{-}$ Is an Unstable Outcome.
<table><tr><td>Relative Gains</td><td>Absolute Gains</td><td>Incomplete Gains</td></tr><tr><td>"Relatively-Balanced (ISPCDR)"P3</td><td>"Outrightly-Balanced (ISPCDR)"P2</td><td>"Incompletely-Balanced (ISPCDR)"P1</td></tr><tr><td>{E-v0}+1(S4,S2)</td><td>{E-v0}+(S3,S3)</td><td>{E-v0-1}≥k≤{E-v0-1}(S2,S2)</td></tr><tr><td>{E-v0}+1(S2,S4)</td><td>Deviation I</td><td>{E-v0-1}≥{E-v0-1}(S3,S2)</td></tr><tr><td></td><td>Deviation II</td><td></td></tr><tr><td>(Disguised) Opponent - Victory Equilibrium</td><td>Compromise Equilibrium</td><td>Status Quo Equilibrium</td></tr></table>
Figure 9: The Utility and Probability of the Deterrence Entanglement Cases
Ultimately, we can interpret the (Mutually Assured Destruction "MAD") strategy under the "Incompletely-Balanced (ISPCDR)." The (MAD) entails that if one nuclear power attacks the other through a first nuclear strike, a second capable and credible nuclear strike will follow by the attacked nation against the aggressor from other lands than the attacked ones, should the first attacked homeland be overwhelmingly destroyed. Under a case of movement of {Threaten); (Threatened)} and opposite movement of {Threatened); (Threaten)} in the same direction, by both the US and Soviet Union, no matter who has what sort of movement, a deviation from this status quo outcome became a possibility more significantly after the Cold War ended. Such a swerve took a solid shape in accordance with developing debates over (Ballistic Missile Defense Systems, BMDs)[8] that are supposed to operate by relying on obstructing or disrupting nuclear missiles in case thehomeland is being attacked through a nuclear strike. Here, assuming that the US deviates from the status quo outcome by acquiring the (BMDs) technology, while Russia misperceives that its old rival would move from the (MAD) equilibrium position. Rationally, Russia, in this case, will have the incentive to change a would-be (Disguised Opponent-Victory Equilibrium) once being aware that the US shifted from the Cold War's (incomplete) balance of nuclear deterrence; and vice versa.
In general, both actors, who are the international system's old competing poles (i.e., the US and Russia as the Soviet Union's successor), would have had the impulse to deviate from the (Status Quo Equilibrium) either the surrounding factors, such as the existence of the Soviet Union, remained unchanged or not, due to the instability of this outcome itself. Furthermore, the system's two powers might reach a state of Outright Balance after the Cold War, concerning the nuclear deterrence theme, by mutually acquiring the (BMDs). In the latter case, and from the (DEL)'s perspective, the (Threat Object I or the first/initiating-nuclear strike) and (Threat Object II or the second/responding-nuclear strike), which both are capable and credible, become all inactive and disabled. In sum, the (MAD) strategy equilibrium will no longer be in play if the "Relatively-Balanced (ISPCDR)" case under perception, or deception/ intentional misperception state, or another case of "Outrightly-Balanced (ISPCDR)," is reached as courses of deviation from the (Status Quo Equilibrium) that framed the nuclear deterrence nature among both powers for decades.
### c) The Deterrence Entanglement Law Rules
The Deterrence Entanglement Law includes three rules, considering these assumptions:
a. The $\{(\mathrm{Tn}), (\mathrm{UT}), (\mathrm{NT}), (\mathrm{Td})\}$ are the abbreviations to the $\{(\text { Threaten }); (\text { Unthreatened }); (\text { Not Threaten }); (\text { Threatened }) \}$ moves/countermoves, respectively. b. The (Bab) is the "Balance of Deterrence (B)" for Power I/Actor I or (a/A1), and Power II/Actor II or (b/A2), in the "Threat-for-Deterrence" modeling, where both sides are opponents in the international system.
c. The $(+D)$ indicates a (deception (D) case of interstate conflict situations or an intentional misperception employed by one opponent versus the other, and certain uncertainty) factor. At the same time, the $(-D)$ points out a (perception (or non-deception/D) case of inter-state conflict situations and complete/incomplete certainty) factor. d. The $\{(\mathrm{CC})\mathrm{F}1\}$ and $\{(\mathrm{CC})\mathrm{F}2\}$ are the (Threat-Capability and Credibility Factor 1) of (A1) and the (Threat-Capability and Credibility Factor 2) of (A2), consecutively.
## i. Rule I of the Deterrence Entanglement Law: Relative-Balance Rule
$$
\begin{array}{l} ((\mathbf {T n}) ^ {(\mathrm {C C}) \mathrm {F} 1} + (\mathbf {U T})) _ {\mathrm {A} 1} + ((\mathbf {T d}) ^ {(\mathrm {C C}) \mathrm {F} 1} + (\mathbf {N T})) _ {\mathrm {A} 2} = \mathbf {B} _ {\mathrm {a b}} ((\mathbf {E} _ {\mathrm {v a}}) > (\mathbf {E} _ {\mathrm {v b}})) ^ {+ 1} + (- \mathbf {D}) \\= \mathbf {B} _ {\mathbf {a b}} \left(\left(\mathbf {E} _ {\mathbf {v a}}\right) > \left(\mathbf {E} _ {\mathbf {v b}}\right)\right) ^ {- 1} + (+ \mathbf {D}) \\\end{array}
$$
$$
\begin{array}{l} ((\mathbf {T n}) ^ {(\mathrm {C C}) \mathrm {F} 2} + (\mathbf {U T})) _ {\mathrm {A} 2} + ((\mathbf {T d}) ^ {(\mathrm {C C}) \mathrm {F} 2} + (\mathbf {N T})) _ {\mathrm {A} 1} = \mathbf {B} _ {\mathrm {a b}} \left((\mathbf {E} _ {\mathrm {v a}}) < (\mathbf {E} _ {\mathrm {v b}})\right) ^ {+ 1} + (- \mathbf {D}) \\= \mathbf {B} _ {\mathbf {a b}} \left(\left(\mathbf {E} _ {\mathbf {v a}}\right) < \left(\mathbf {E} _ {\mathbf {v b}}\right)\right) ^ {- 1} + (+ \mathbf {D}) \\\end{array}
$$
The Balance of Deterrence in the system powers-conflict and deterrence relation exists, relatively, if one actor/power's movement of {(Threaten); (Unthreatened)} moves, and the other actor/power's opposite-movement, in the same direction, of {(Threatened); (Not Threaten)} countermoves, and vice versa, take place regarding the (Matter and Anti- Matter) for each, or two opposite Threat-Objects, within either movement. Contextually, the first's equilibrium (E) value (v) exceeds the second's, with permanent stability under perception and (complete/incomplete) certainty conditions, and permanently instability or temporal stability under intentional deception or misperception and certain-uncertainty ones.
## ii. Rule II of the Deterrence Entanglement Law: Outright-Balance Rule
$$
((\mathbf {N T}) + (\mathbf {U T})) _ {(\mathbf {A 1})} + ((\mathbf {U T}) + (\mathbf {N T})) _ {(\mathbf {A 2})} = \mathbf {B} _ {\mathbf {a b}} \left((\mathbf {E} _ {\mathbf {v a}}) \approx (\mathbf {E} _ {\mathbf {v b}})\right) ^ {+ 1} + (\pm \mathbf {D})
$$
The Balance of Deterrence in the system powers-conflict and deterrence relation outrightly exists if one actor/power's movement of {(Not Threaten); (Unthreatened)} moves, and the other actor/power's opposite movement, in the same direction, of {(Unthreatened); (Not Threaten)} countermoves, and vice versa, occur regarding the (Matter and Anti-Matter) for each, or two opposite Threat-Objects, within either movement. Explicitly, the first's equilibrium value equivalently equals the second's, with stability under intentional deception or misperception and certain uncertainty conditions or perception and (complete/ incomplete) certainty circumstances.
## iii. Rule III of the Deterrence Entanglement Law: Incomplete-Balance Rule
$$
\begin{array}{l} ((\mathbf {T n}) ^ {(\mathrm {C C}) \mathbf {F} 1} + (\mathbf {T d}) ^ {(\mathrm {C C}) \mathbf {F} 2}) _ {(\mathbf {A} 1)} + ((\mathbf {T d}) ^ {(\mathrm {C C}) \mathbf {F} 1} + (\mathbf {T n}) ^ {(\mathrm {C C}) \mathbf {F} 2}) _ {(\mathbf {A} 2)} \\= \mathbf {B} _ {\mathrm {a b}} \left(\left(\mathbf {E} _ {\mathrm {v a}}\right) \geq \left(\mathbf {E} _ {\mathrm {v b}}\right)\right) ^ {- 1} + (\pm \mathbf {D}) \\= \mathbf {B} _ {\mathrm {a b}} \left(\left(\mathbf {E} _ {\mathrm {v a}}\right) \leq \left(\mathbf {E} _ {\mathrm {v b}}\right)\right) ^ {- 1} + (\pm \mathbf {D}) \\\end{array}
$$
The Balance of Deterrence in the system powers-conflict and deterrence relation incompletely exists if one actor/power's movement of {(Threaten); (Threatened)} moves, and the other actor/power's opposite-movement, in the same direction, of {(Threatened); (Threaten)} countermoves, and vice versa, happen regarding the (Matter and Anti-Matter) for each, or two opposite Threat-Objects, within either movement. In this given context, the first's equilibrium value might exceed or equal, or be less than or equal, the second's, with instability permanently or temporal stability under intentional deception or misperception
and certain uncertainty conditions, or perception and (complete/incomplete)certainty ones.
## IV. CONCLUSION
Following the development of the (Deception Hypergame Model of Inter-state Conflict "DHMIC"), two general conclusions have been given, paving one way among many others that can be provided in further research for stabilizing the international system's structure. Whether or not the deception exists in multiple games of an unbalanced hypergame model played by and between states, the aim was not to reveal a new facet of reality insofar as it was to set the facts (more) solid, avoiding the occurrence of potentially similar conflicts in the future. More specifically, we introduced two equations inferred from that built model and its application, which are applicable under certainty and uncertainty conditions. Sequentially, the explained Conditionality of (ISPCDR) was highlighted, upon which our subsequent development of (Deterrence Entanglement Law) took place. The Initial Stability in the System Powers' Conflict and Deterrence Relation or the (ISPCDR) can be determined based on the previously given Equations I and II's outputs, where the (Bipolarity or Multipolarity "B-MP") defines the international system's structure. Moving further, we set a Deterrence Entanglement Law, under which there are three rules; Relative-Balance Rule, Outright-Balance Rule, and Incomplete-Balance Rule, shown theoretically as well as strategically in a (Threat-for-Deterrence) modeling and the consequently relevant equations.
Generating HTML Viewer...
References
5 Cites in Article
Juliet Kaarbo,James Ray (2011). Global Politics. 10 th Ed.
D Kilgour,Frank Zagare (2007). Explaining Limited Conflicts.
Frank Zagare,D Kilgour (2000). Perfect Deterrence.
Frank Zagare (2014). A Game-Theoretic History of the Cuban Missile Crisis.
Frank Zagare (2016). General Explanation of the Cuban Missile Crisis.
No ethics committee approval was required for this article type.
Data Availability
Not applicable for this article.
How to Cite This Article
Mariam Ariba. 2026. \u201cA Conflict or War Impediment Strategic Approach: Perception Games, Deception Hypergames, and Deterrence in Global Politics\u201d. Global Journal of Human-Social Science - F: Political Science GJHSS-F Volume 22 (GJHSS Volume 22 Issue F6).
Explore published articles in an immersive Augmented Reality environment. Our platform converts research papers into interactive 3D books, allowing readers to view and interact with content using AR and VR compatible devices.
Your published article is automatically converted into a realistic 3D book. Flip through pages and read research papers in a more engaging and interactive format.
Our website is actively being updated, and changes may occur frequently. Please clear your browser cache if needed. For feedback or error reporting, please email [email protected]
Thank you for connecting with us. We will respond to you shortly.