A Neural Networks and Rules Based System used to Find a Correlations, and Therefore Try to Maintain the State of Health, in Patient Affect by Multiple Sclerosis at the Origins of Well-Being at a Certain Time Daily Time with Clinical and the Musculoskeletal Exams.
In this work we will explore the fact that according to recent studies published in specialist medical journals, during the early morning sleep-wake hours, during the early morning sleep-wake hours. The idea we propose is the clinical-musculoskeletal monitoring of a certain number of MS patients for twenty-four hours so that they can collect data to train a neural network with an appropriate learning algorithm suitable for the purpose. The patients will first be hypothesized as such in the present work and in the subsequent ones a virtual patient will be developed, only in the last step will real patients be used whose data will be housed in the virtual container necessary to be able to present it to the learning system.
A Neural Networks and Rules based System used to Find a Correlations, and Therefore Try to Maintain the State of Health, in Patient Affect by Multiple Sclerosis at the Origins of Well-Being at a Certain Time Daily Time with Clinical and the Musculoskeletal Exams
## I. INTRODUCTION
The undersigned has always studied, as a child, and with over a dozen works in which he is the sole author, [1]-[11], and is himself suffering from a secondary progressive form of MS that is blocking him as well as many patients and families around the world. He opened a fundraiser on "www.gofundme.com" with keyword "Artificial Intelligence vs Multiple Sclerosis" and in addition to thanking you, the author will make every effort to ensure that the funds raised are spent on the next steps which are certainly expensive.
In this article we will describe a system based on NNs and filters with production rules to train a system, therefore the NN with back-propagation learning algorithm, with three layers of perceptrons so that the state of well-being can be associated with the time [12] and therefore find some correlation that connects the two variables.
This is the first of a series of articles that will be written as the research continues. This is the first, the second will instead be based on the description of representation algorithms of the software that will be used for recognition and therefore with a broader description of the set of patients and the type of NN. Based on the second, the third will be created where real patients will be used instead of the virtual patient encapsulator. But all of this will be linked above all to raising funds for the continuation of the project, funds that cannot be taken for granted given the size and breadth of the undertaking. It must also be said about the scheme found in the next paragraph, that is, it is very summary and schematic, this is because the problems that will be found in the second step, therefore with virtual patients and in the third with real patients, many difficulties will be encountered and many precautions will be taken to overcome them; therefore making further graphs is currently useless because the difficulties are now unclear and many, all this is done by the undersigned who has therefore himself witnessed this pathology of what is hypothesized about the timetable [12].
The following must also be considered: the incidence of MS on males and females, age, weight, residence... and other known indications, let's suppose that the incidence is 2 females and 3 males, this ratio is better implicitly present in the sample to be presented to the NN during the training phase so that this parameter is also learned.
Then, let's say that the training must be done on "healthy" patients? validation on "sick" patients? And the test on "sick but not too sick" patients. A schift must be made on the inputs because they are very many so there is a risk of either over-fitting the net or not fishing well given the small number of the output numerically speaking because it is still an evoked potential, therefore there are not a thousand inputs comparable to those we would have in output, therefore it will be necessary to appropriately choose a range to evaluate the inputs especially in the first NN.
## II. METHODS AND TOOLS
This paragraph will describe the main scheme of the setup that will be used, also in the next works and the present one which mainly describes the idea, and the second one which involves the use of neural networks and the drafting of an algorithm especially by virtue of the fact that the patients will be virtually encapsulated while the third will be much more challenging because the use of "real" patients and interfacing with hospital realities with the related costs will be expected.
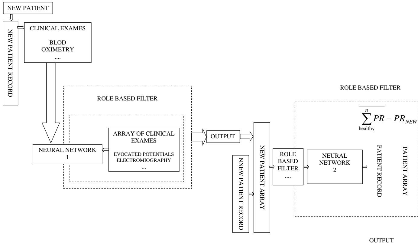
The following diagram is a particularly "simple" example because it only represents the preliminary project that will be described, represented in the figures fig. 1, 2. All this is obviously simple compared to the scale of the overall project. It is believed, as was said in the introduction, that it is not very useful to describe in depth these blocks which are part of the design represented in fig. 1 as the difficulties that will be encountered will not be few and above all the methods used to describe and create the various components will not be simple, and the type of representation and its creation that one will want to follow is unpredictable.
 Fig. 1: This figure represents the original idea to train a neural network to distinguish an MS patient from a healthy one, as well as "memorizing" the cases seen in training.
For evoked potentials and electromyography, a filter based on output rules will be used, hoping to limit the number of inputs, and since they are numerous, it will be necessary to ensure that the NN [12]-[44] has a variable and selectable range for the inputs both in terms of position and as breadth; these aspects will concern the second job, not the first. Up to now we have discussed the project idea and mentioned the other two or three that will follow.
At this point the first neural network should be able to diagnose multiple sclerosis but that's just not what we would like. The following figure further highlights the potential of the diagnosis issued in figure fig. 1. An important factor for patient selection is the impact of MS on the male/female ratio which must be represented in the set of patients and therefore implicit in the selected sample. Training and validation should be assumed on healthy patients or testing on MS patients. Over-fitting must be avoided thanks to a schift on the inputs and to represent the output a little widely and the inputs must be appropriately chosen with a scissor variable in amplitude and position.
The next figure fig. 2 shows the system mentioned in the introduction, i.e. a system capable of indicating significant parameters to be indicated to the clinician.
 Fig. 2: This figure represents the second part of the system which could give important indications to the clinical doctor when outputs are ready.
In order to clarify better, is the training carried out on "healthy?" patients and validation on those "sick?" and the Test is a middle ground a little nuanced a little healthy a little sick and assuming that the system in fig.1 is able to distinguish a healthy patient from a sick one, then where does the information reside?
The information and the result of the correct training of NN $n^01$ of the successful learning of the problem unknown until that moment; and up to this moment after having carried out the training: then an average is taken of the input vectors of the arrays of the patients of the healthy ones even if on the average the clue could be hidden, the truth the input of interest appears: therefore presenting a new case and at this point the network will say whether he is healthy or sick and the difference is made between the representative vector of the new case minus the average of healthy?, sick?, so we will see what are the variables in play that determine this difference between the representative vectors.
The schemes proposed in fig. 1 and 2 should be considered a cliché that can also be used for other pathologies, this aspect is very important to point out.
## III. CONCLUSION
As we intend to proceed after the pressing first step, at the end of this predominantly descriptive work on the idea of using NNs, two other steps are basically envisaged: the second will concern the IT setup of the entire set of objects relating to both the patients virtual and rule filters and also an intermediate step with the necessary simulations with a lot of work required. Once the correct functioning of the virtual patient encapsulator and the entire system has been verified, and the presence of sufficient funds has been verified, we will move on to talking about non-invasive experiments on real patients, then we will try to actually carry out the procedure that should respond, in part, to the question in the title of this work, thus giving indications to clinical doctors who are experts in the sector covered in this article.
## ACKNOWLEDGMENT
An extraordinary thank you to all those who take care of people with physical and mental disabilities in particular a Pierpaolo eng. Furcas and family, my lovely family, Viviana S., Danilo Mallica, Maria Rita S., Alex Tomasi, MD Pierpaolo Vargiu, Alberto Urpi Caritas Diocesana di Cagliari (CA) IT.
Generating HTML Viewer...
References
46 Cites in Article
Francesco Pia (2019). I will be back.
Francesco Pia (2019). The liar knee.
Francesco Pia (2019). Genetic geometry.
Francesco Pia (2021). Reviewers.
Francesco Pia (2022). How to Try to Get Antigravity From Electrical Circuits by an Almost Magnetic Monopole or from Anti Matter.
Francesco Pia (2022). A Computer System Based On Neural Network And Rules System Based For Find An Optimum Mix of Vaccine And/Or Drugs For mRNA Like Covid-19 Virus And Other Pathologies.
Francesco Pia (2022). POLIFEMO: a Teleportation Model Based on Object Like Black, White and Worm Hole for Electric Signal and Object Also Thinking and With Conscience.
Francesco Pia (2023). A Symmetry of Cosmological Model Named Jewell That Allows Re Entry Into The Starting Parallel Universe With Adequate Teleportation Based on Creation of Useful Stellar Object Like Black, Withe Holes.
Francesco Pia (2023). Global Journal of Researches in Engineering.
Francesco Pia (2023). A Natural Model for Dark Matter and Its Interaction with Stellar Objects such as The Galaxy Known as with Name “The Milky Way”.
Francesco Pia (2023). A Time-Machine, An Electro-Mechanical System That Have a Strange Behaviour Respect at Time.
Luisa De Vivo,Michele Bellesi (2019). The role of sleep and wakefulness in myelin plasticity.
I,Antone (1990). Intelligenza artificiale e diagnostica in sistemi complessi.
A Fanni,P Zedda,F Scintu,A (1995). Artificial Neural Networks Approach for Anorectal Manometry Morphological Classification.
" Ed,F Bracale,Denoth Area di Ricerca -CNR-Pisa.
P Sharpe,H Solberg,K Rootwelt,M Yearworth (1993). Artificial Neural Networks in Diagnosis of Thyroid Function from in Vitro Laboratory.
K Rootwelt,H Solberg (1981). Free thyroxine, thyroxine/TBG ratio and other <i>in vitro</i> tests of thyroid function evaluated by discriminant analysis.
T Kohonen (1982). Self-Organizing formation of topologically correct feature map.
P Karakitsos,B Cochand-Priollet,P Cuillausseau,A Pouliakis (1996). Potential of the Back Propagation Neural Network in the Morphologic Examination of Thyroid Lesion.
E Carson,D Cramp (1985). The patient/clinical relationship, computing and the wider health care system.
S Gamal,M Rafeh,I Eissa (1993). Case-based reasoning algorithms applied in a medical acquisition tool.
S Gamal,M Rafeh,E Eissa (1991). Knowledge acquisition system for clinical medicine. First national ezpert Systems and development Workshop.
D Wakerman (1985). A Guide to Expert System.
J Nicolass,L Perry (1986). Tools for Knowledge Acquisition and Verfication in Medicine.
F Pia,A Casanova,S Mariotti (2001). Conference Proceedings – 4th International Conference on Molecular Diagnostics and Biomarker Discovery: Antibody Technology.
S Russel,P Norvig (1995). Artificial Intelligence, A Modern Approach.
B Buchanan,E Feigenbaum (1978). Dendral and Metadendral: their applications dimension.
G Bara (1978). Intelligenza artificiale.
R Shank (1975). Fundamental Studies in Computer Science.
Y Jang (1993). Multiple system atrophy.
A Casanova,P Carta,A Balestrieri,G Bellu (1989). Un sistema esperto per il supporto alla Diagnosi delle Broncopneumatopatie Professionali.
T Khana (1991). Fondamenti di reti neurali.
G Rindi,E Manni (1987). Unknown Title.
R Beale,T Jackson (1992). Neural Computing: An Introduction.
F Robert,Schmidt Con I Contributi,Josef Di,Wilfrid Dudel,Manfred Jänig,Zimmerman (1990). Fondamenti di Neurofisiologia.
D Floreano (1996). Manuale sulle reti neurali.
A Hodgkin,A Huxley (1952). A quantitative description of membrane current and its application to conduction and excitation in nerve.
J Hertz,A Krogh E R,Palmer (1991). Introduction to the Theory of Neural Computing.
David Rumelhart,Geoffrey Hinton,Ronald Williams (1986). Learning representations by back-propagating errors.
H Demuth,M Beal (1994). Matlab Neural Network Toolbox.
Dan Jones (1990). NEURAL NETWORKS FOR MEDICAL DIAGNOSIS.
C Stergiou,D Siganos Neural Networks.
Ugo Teodori Unknown Title.
S Mariotti,L Baschieri,E Martino,-G Fenzi,-L Bartalena (2005). Le malattie subcliniche della tiroide.
G Delfino,E Lanciotti,G Liguori,M Stefani (1990). Biologia e medicina, dizionario enciclopedico di scienze biologiche e mediche, IT-GB, GB-IT.
E Rubenstein (1980). Malattie causate da diffettosa comunicazione tra cellule.
No ethics committee approval was required for this article type.
Data Availability
Not applicable for this article.
How to Cite This Article
Dr. Francesco Pia. 2026. \u201cA Neural Networks and Rules Based System used to Find a Correlations, and Therefore Try to Maintain the State of Health, in Patient Affect by Multiple Sclerosis at the Origins of Well-Being at a Certain Time Daily Time with Clinical and the Musculoskeletal Exams.\u201d. Global Journal of Medical Research - A: Neurology & Nervous System GJMR-A Volume 24 (GJMR Volume 24 Issue A1).
Explore published articles in an immersive Augmented Reality environment. Our platform converts research papers into interactive 3D books, allowing readers to view and interact with content using AR and VR compatible devices.
Your published article is automatically converted into a realistic 3D book. Flip through pages and read research papers in a more engaging and interactive format.
Our website is actively being updated, and changes may occur frequently. Please clear your browser cache if needed. For feedback or error reporting, please email [email protected]
Thank you for connecting with us. We will respond to you shortly.
Lorem ipsum dolor sit amet, consectetur adipiscing elit. Ut elit tellus, luctus nec ullamcorper mattis, pulvinar dapibus leo.
A Neural Networks and Rules Based System used to Find a Correlations, and Therefore Try to Maintain the State of Health, in Patient Affect by Multiple Sclerosis at the Origins of Well-Being at a Certain Time Daily Time with Clinical and the Musculoskeletal Exams.