The paper considers the possibility of optimizing the parameters of dispersion devices for gas analysis, which use correlation reception of the useful signal and are used for the analysis of gas mixtures in the visible and UV regions of the spectrum. The factors affecting the optimal filtering of the useful signal in the electronic path of the device are determined, and methods of eliminating this influence, including the background component of the signal, are proposed. As an example of the use of gas analysis devices with correlated selection of a useful signal in the electronic path of the analyzer, the structural diagram of the device for the analysis of SO2 in the gases of thermal power plants is described.
## I. Вступ
3 зведеними даними по Україні ОСНОВНИМИ забруднювачами атмосфери міст е пил i викиди автотранспорту — в основному важки вуглеводни, формальдегид, бензопирен, диоксид азоту, а також важкі метали. Адже саме ці речовини, за словами ликарив,є одними 3 ОСНОВНИХ збудникив ОНКОЛОГИЧНИХ захворювань.
Серед інших причин забруднення повитря міст фахівці називають скорочення площі зелених насаджень. Забезпечення надийного та однозначного контролю викидів небезпечних речовин у навколишне середовище одним з найбільш актуальних завдань для екологі.
Серед методів контролю викидів газоподібних речовин найбильш перспективними i широко вживаними методами є оптични абсорбцийни методи. Вони демонструють високу точнисть, надийнисть метрологічних параметрив, хороши експлуатаційні характеристики.
Для підвищення селективності абсорбцийних оптичних приладів часто використовуються методи кореляційного аналізу.
Останнім часом стали широко використовувати кореляційні типи приладів з виділенням корисного сигналу в електронному тракті. Вони основані на скануванні з великою частотою вузького спектрального діапазону(20-40)нм, у якому перебувають смуги поглинання досліджуваних газів, що мають характерну структуру і дозволяють ідентифікувати велику кількість газових компонентів, лінії поглинання яких лежать в межах області спектра, що сканується. Такі прилади, як правило, використовують для наукових досліджень при вивченні процесів, що швидко протикають[1]. Сканування спектру здійснюється швидким переміщенням дифракційної решітки, поворотного дзеркала монохроматора, плоскопаралельної пластини, встановленої на шляху його променів, вихідної щиліни монохроматора[2]. При детекції спектру, що сканується за допомогою фотоприймача, періодичний електричний сигнал тієї або іншої форми в залежності від виду наявності газу, що визначається в атмосферному повітрі, надходить до системи реєстрації. Ідентифікація газових компонентів за характерними особливостями періодичного сигналу проходить найчастіше за рахунок формування синхроімпульсів, які поступають в систему реєстрації з визначеною частотою в залежності від виду періоду структури досліджуваного газового компоненту[3,4,5]. Однак можливий і інший шлях — фільтрація корисного електричного сигналу в системи реєстрації за допомогою нечутливих до зміни форми сигналу фільтрів[6]. На цьому принципі були створені прилади для аналізу${ \mathsf { S O } } _ { 2 }$в газоподібних викидах теплових електростанцій і${ \mathsf { N H } } _ { 3 }$при технологічних процесах[7,8].
Електронни смуги поглинання, наприклад, ${ \mathsf { S O } } _ { 2 }$ мають яскраво виражену характерну коливальну структуру (див.рис.1). Тому y вихідний площини полихроматора, при наявности в робочий кюветі ${ \mathsf { S O } } _ { 2 }$ буде спостеригатися спектр ${ \mathsf { S O } } _ { 2 }$ у вигляді "свитлих" "темних що чергуються (B максимумах поглинання спектру випроминювання послаблюсться, в мінимумах - залишається 6e3 істотних 3мін).При скануванні цього спектру 3 частотою ω p $\omega _ { p }$ 3a допомогою, наприклад, наризаних на обертовому диску радіальних вихідних щілин (число щілин вибирається з умови, щоб у зони сканування в кожний момент часу знаходилася Тільки одна щілина), Ha виХоді фотоприймача (фотоелектронного помножувача - ФЕП) з'являсться електричний сигнал з певною "резонансною" длЯ ${ \mathsf { S O } } _ { 2 }$ частотою $\omega _ { o }$.Амплитуда цього електричного сигналу пропорцийна концентрації ${ \mathsf { S O } } _ { 2 }$.
Частота ${ \pmb \omega } _ { 0 }$ залежить вид частоти сканування $\omega _ { p }$ i кількості $n$ линий поглинання на ділянці спектру анализованого газу (див.рис.1).
Спиввідношення цих частот $\begin{array} { l l l } { { \pmb { \omega } } _ { o } / { \pmb { \omega } } _ { p } } & { = } & { { \pmb { n } } } \end{array}$ B електронному тракти приладу здійснюється фільтрація отриманого сигналу. Як видно з рис.1, сигнал має складову з частотою $\omega _ { p }$,повязану з наявнистю інтегрального поглинання випроминювання, яке збільшується зі зменшенням довжини хвилі.

Рис. 1: Сканування спектру поглинання ${ \mathsf { S O } } _ { 2 }$ у вихидний площини спектрометра за допомогою вихідної щілини, що обертасться
Tomy корисний сигнал Ha частоти $\pmb { \omega } _ { o }$ спостеригається на φони пилкоподібного сигналу 3 частотою $\omega _ { p }$. Амплітуди 1op обох частотних складових залежать інтенсивности СвИТлОВогО потоку, що надходить на фотоприймач, вид величини інтегрального поглинання анализованим газом, неселективних втрат випромінювання. Амплітуда сигналу на частоти $\pmb { \omega } _ { o }$ залежить ще й вид величини диференціального поглинання в линиях тонкой структури спектру. Таким чином, видношення амплитуд сигналив $\mathbf { \Pi } _ { I _ { o o } } \mathcal { \pmb { A } } _ { o p }$ визначається тільки диференціальним поглинанням випроминювання анализованим газовим компонентом 1 ne змінюється при вариациях інтенсивности джерела випроминювання, неселективних втрат, змини ривня інтегрального поглинання за рахунок наявности, наприклад, газових компонент, що заважають.
На рис.2 наведені ділянки спектрив NoО, ${ \mathsf { N H } } _ { 3 }$, ${ \mathsf { S O } } _ { 2 }$ в области 200-230 нм i ${ \mathsf { N O } } _ { 2 }$ в області 430-450 нм. Як бачимо, спектри мають характерну структуру. Ділянки спектрів NoО, ${ \mathsf { S O } } _ { 2 }$, ${ \mathsf { N H } } _ { 3 }$ знаходяться на краю інтенсивних електронних смуг поглинання, тому інтегральне поглинання значно Змінюється 3i зменшенням довжини хвилі. Одержані в результаті розрахунків гармонични склади часових сигналів, що знимаються з фотоприймача при скануванні, наведені на рис.2.а, ділянки видповидних спектрив зображені на рис. 2.6. Отримані розрахункові залежности перевiряliся експериментально 3a допомогою скануючого з великою ${ \pmb { \omega } } _ { o }$ ділянки (наприклад, ${ \mathsf { N H } } _ { 3 }$, ${ \mathsf { S O } } _ { 2 } )$ у спектри електричного сигналу присутни дві основни гармоники - перша видповідає частоті $\omega _ { p }$ i друга (n-Ta) - $\pmb { \omega } _ { o }$,де п - кількисть линий поглинання на сканований ділянці спектру. Так, при скануванни ділянки спектру ${ \mathsf { N H } } _ { 3 }$ 200-220 нм частота $\pmb { \omega } _ { o }$ відповiдає п'ятій гармониці, i дев'ятий гармоніці $( n = 9 )$ при скануванни ділянки $210 \small { - } 225 \ \mathbf { \Sigma } _ { \mathrm { H M } }$ ${ \mathsf { S O } } _ { 2 }$.Якщо ж сканусться не ціле число периодів структури спектру, наприклад $n = 4 {, } 5$, то інтенсивними є 4 i 5 гармоники спектру електричного сигналу.
Для NoО на спектральний ділянці 200-230 нм спостеригається ВСЬогО 3 вузьких поглинання. Однак, оскільки линий поглинання мають вигляд дельта-функций, то окрим 3-ої гармоники спостеригається ряд інтенсивних бильш високих гармоник.
у разi ж ${ \mathsf { N O } } _ { 2 }$ на ділянці 433-450 нм знаходяться найбільш интенсивні чотири поглинання, ширина i форма яких ризна i тому поряд 3 гармоникою $n \ = \ 4$ спостеригається ряд інтенсивних бильш високих гармоник.
Отже, у рази анализу газових компонентив 3 апериодичною структурою спектра (наприклад, $N O _ { 2 } )$, або з ширинами линий поглинання значно меншими периоду структури (линий поглинання NoО мають вигляд дельта-функций) спектр електричного сигналу, що знимається з фотоприймача є досить складним i містить низку гармонік.

Рис. 2: Залежність свтлового потоку від довжини хвилі у вихідний площині спектрометра для різних газів (а) та спектри електричних сигналив, що знимаються з фотоприймача спектрометра при скануванні вихідной щілини (б)
Якщо ж структура спектру мае хорошу периодичнисть $( \mathsf { S O } _ { 2 }$ ${ \mathsf { N H } } _ { 3 } )$, то спостеригасться, в основному, тільки одна п-та гармоника, амплитуда якої залежить вид концентрацій анализованого компонента в газовий суміші.
Вплив на спектр корисного сигналу параметрив Скануючого спектрометра.
Дослиджувався вплив на гармоничний склад корисного сигналу змини ширини щілин скануючого монохроматора, концентрацій дослиджуваного газу, змищення в площині вихідної − щілини спектру дослиджуваного газу, вибору ширини ділянки спектру, що сканусться. Як буде показано нижче, всі ці параметри мають істотний ВПЛИВ Ha гармонічний склад i величину корисного сигналу.
Експериментальна установка складалася 3 освитлювача на основі дейтериєвої лампи ДДС-з0 (оптичной лампи ОП8-9), кварцовой кювети довжиною L $= 100 \mathbf { { \mathrm { M M } } }$, монохроматора МДР-3 зі зворотною лінийною дисперсіею 1,3 нм/мм в області (0,2-0,6) мкм, фотоприймача ФЕП-142 (ФЕП-6) підключеного до самописця через узгоджувальний підсилювач.
У кювету напускалися газови суміші ${ \mathsf { N H } } _ { 3 }$ в азоти різної концентрації.
Змина ширини вхидной i вихидної цілини монохроматора. Ширина щилин зминювалась у межах від 0,1 до 0,25 мм. Концентрація в кюветі дорівнювала $1000 \ \mathrm { { \bf M J H } } ^ { - 1 }$.При цьому спектральна ширина щилин була значно менше периоду Д структури спектру поглинання
${ \mathsf { N H } } _ { 3 }$.У таких умовах знимався спектр поглинання ${ \mathsf { N H } } _ { 3 }$ B області від 190 до 230 нм. Для розрахунків вибиралась ділянка спектру (200-220) нм i визначався гармонийний склад корисного сигналу при послидовному скануванни цієї ділянки.
Результати розрахункив наведено на рис.
3. Як бачимо, при збильшенні ширини щілин величина корисного сигналу (6-ої гармоники) збільшусться. Збільшується i відношення амплитуд гармоник $/ C _ { \theta } / / / C _ { \ I } /$ величина $[ / C _ { \delta } / - ( / C _ { \delta } / + / \bar { C } _ { 7 } / ) / 2 ] / / C _ { 1 }$ /. тобто корисний сигнал з врахуванням фонової складовой, виднесеной до основной гармоники частоти сканування.

Рис. 3: Зміна амплітуд гармонік електричного сигналу при змині ширини вхідной и вихідной щілин скануючого спектрометра
До яких же меж необхидно збильшувати ширину щілин? Спектральна ширина щілин повинна бути:
$\partial / { = } 0,5 \pi$ для досягнення максимальной величини сигналу;
{(1)
$\pmb { \mathcal { O } } \mathbf { = } \pmb { \mathcal { O } }, 37 \pmb { \mathcal { U } }$ для отримання максимального видношення сигнал/шум (СШВ).
Підставляючи параметри спектру поглинання ${ \mathsf { N H } } _ { 3 }$ i монохроматора МДР-3 у вираз для спектральної ширини щілин [9]:
$$
d \lambda = D _ {e} \Delta x, \tag {2}
$$
dе $D _ { e }$ - зворотна лінийна дисперсія, i враховуючи (2), отримаємо оптимальне значення геометричной ширини щілин:
$$
\Delta x_{max}=1.5\,\mathrm{mm};\,\Delta x_{\mathrm{сив}}=1.15\,\mathrm{mm}.
$$
Тобто збільшення до цих меж ширин вхідної i вихидной щилин буде приводити до зростання величини корисного сигналу (ширини вхидной i вихидной щілин зазвичай вибирають ривними).
Змина гармоничного складу корисного сигналу при збильшенни концентраций дослиджуваного газу. В газову кювету послідовно напускались концентрації ${ \mathsf { N H } } _ { 3 }$ $\pmb { \chi _ { \eta } } = 250 \ \mathbf { M } \mathbf { I H } ^ { - 1 }$, $\pmb { \chi _ { 2 } } = 800 \ \mathbf { \mathrm { u J I H } } ^ { - 1 }$, $\chi _ { \ 3 } = 1600 ~ \mathrm { M J H } ^ { - }$ 1. Для кожного значення концентрацій знимався спектр у диапазоні довжин хвиль вид 190 до 230 нм i за допомогою перетворення Фур'с визначався гармонічний склад корисного сигналу. Результати експерименту наведено на рис.
4. Як видно з рис. 4, зi збильшенням
концентрацій дослиджуваного газу максимум розподілу гармоник корисного сигналу змищусться в бик більш низькочастотних гармоник.
Це, мабуть, повязано з тим, що зи збільшенням концентрації дослиджуваного газу линиї поглинання ширшають i структура спектру ${ \mathsf { N H } } _ { 3 }$ стає ближчою до синусодальной, що i призводить до зменшення вкладу високочастотних гармоник в корисний сигнал.
3 наведеного експерименту випливає, що для вимирювання концентрації досліджуваного газу в широких межах необхидно детектувати корисний сигнал на декилькох близьких гармониках, пов'язаних 3 наявнистю структури смуги поглинання досліджуваного газу.

Рис. 4: Перерозподіл амплитуд гармонік корисного сигналу при збільшенні концентрації $\boldsymbol { x } \mathsf { N } \mathsf { H } _ { 3 }$
Зсув дилянки спектру, що сканується. Дослідження проводилися при використанні концентрації ${ \mathsf { N H } } _ { 3 }$ a6o ${ \mathsf { N O } } _ { 2 }$ в кюветі рівний 1000 млн 1. Знимався спектр поглинання ${ \mathsf { N H } } _ { 3 }$ в области (190-230) HM Ta ${ \mathsf { N O } } _ { 2 }$ в області (430-460) нм. 3 отриманих спектрів вибиралися змищени один видносного одного бильш вузьки ділянки спектра i проводилося обчислення їхних Фyp'c образів.
На рис.5 наведено перерозподіл амплитуд гармоник в рази змищення спектру ${ \mathsf { N H } } _ { 3 }$ (a), структура якого квазіперіодічна, i ${ \mathsf { N O } } _ { 2 }$ "(6), що має значну апериодічнисть структури. Як бачимо, зсув сканованої ділянки спектру призводить до значного перерозподілу амплитуд гармоник.

Рис. 5: Перерозподіл амплитуд гармонік корисного сигналу у випадку зміщення спектрів ${ \mathsf { N H } } _ { 3 }$ (a) Ta ${ \mathsf { N O } } _ { 2 }$ (6) y вихидний площини спектрометра
Причому у другому випадку амплитуди гармоник зазнають суттевих змин вже починаючи 3 першої гармоники, в першому - значно зминюються амплитуди тільки більш високих гармоник.3 рис.5 випливає, що при ретельному вибори ділянки спектру можна значно збільшити амплітуду гармоніки, пов'язану з наявнистю досліджуваного газу в кюветі, а значить, i підвищити відношення сигнал/шум при вимирах корисного сигналу. Тому, вибору ділянки спектра i стабильності його положення в площині вихидної щілини монохроматора слид приділяти значну увагу.
Вибир ширини дилянки спектра, що сканується. При середньоквадратичному детектуванни корисного сигналу, що зазвичай прийнято в газоаналитичних приладах, його величина визначасться площею, що знаходиться пид обвидною корисного сигналу. Причому ця площа залежить, при нецилому числи сканованих периодів Д структури спектру смуги поглинання, від початкової фази (початкової довжИНИ хвилі) сканування.
Дийсно, нехай, наприклад, сканусться $m = 4 {, } 5$ периодів Д структури спектру ${ \mathsf { N H } } _ { 3 }$.При незначних концентраціях ${ \mathsf { N H } } _ { 3 }$ в кювети сканований спектр може бути представлений у вигляді позитивних напивпериодів синусоїди. Тоді сигнал, що знимасться з ФЕП, може бути записаний у вигляді:
$$
I _ {o} \sin \pi t / \tau , n p u 2 n \tau < t < (2 n + 1) \tau I (t) = \left\{ \begin{array}{l} \text{expression here} \end{array} \right. \tag {3}
$$
$$
-I_{o}\sin\pi t/\tau , npu (2n+1)\tau < t < 2(n+1)\tau
$$
dе $\textstyle n = 0,1,2$ k; $\pmb { \tau } = \pmb { \mathcal { M } } \Delta \pmb { \mathcal { t } } _ { o }$ - период сигналу, що відповидає периоду структури, досліджуваного газу; $f _ { o }$ - частота сканування спектральної ділянки $\varDelta \lambda = m \mu$.
Зазвичай дослиджувана ділянка спектру виділяється діафрагмою, спектральна ширина якой доривнює Д i розміщеної у площини вихидної щілини (в безпосередний її близькості). Тоді, у разі вимирювання положення спектру щодо діафрагми, МОЖЛИВИЙ випадок, коли сканусться 4 цілих периоди структури спектра i 0,5 периода, i коли сканується 4 цілих періоди i два по 0,25 периоди (див. рис.6). У першому випадку величина сигналу писля детектування буде доривнювати:
$$
I_{1} = 4 I_{0} \int_{0}^{\tau} \sin\pi t / \tau \, dt + I_{0} \int_{0}^{\tau / 2} \sin\pi t / \tau \, dt = 9 I_{0} \tau / \pi
$$
у другому:
$$
I_{2} = 4 I_{0} \int_{0}^{\tau} \sin\pi t / \tau \, dt + 2 I_{0} \int_{0}^{\tau / 4} \sin\pi t / \tau \, dt = 8,6 I_{0} \tau / \pi
$$


Рис. 6: Величина корисного сигналу при скануванні $( 4 + 0.5 )$ периодів структури спектру аналізованого газу (а) та $( 4 + 2 \cdot 0.25 )$ (6)
Таким чином, видносна змина сигналу при зсуви спектру дослиджуваного газу щодо діафрагми дорівнюватиме:
$$
\Delta = \left(I_{I} - I_{2}\right) / I_{cp} \, 100\% = 4,5\%,
$$
$$
\Delta I_{cp} = (I_1 + I_2)/2 .
$$
Таки коливання корисного сигналу призводять до значних похибок вимирювання. Так, якщо максимальна концентрация дослиджуваного газу дає ослаблення сигналу на $30\%$ (таке значення зазвичай вибирають для досягнення лінійності шкали газоаналзатора), то інструментальна похибка приладу при зазначених коливаннях корисного сигналу не може бути краще $15\%$.

Рис. 7: Зміна величини корисного сигналу при зміщенні спектру аналізованого газу у вихидний площині спектрометру в залежності вид кількості периодів спектру, що сканусться
Легко бачити, що якщо $m$ дорівнює цілому числу периодів структури спектру, наприклад $m = 4$, TO при будь-якому положенни спектру щодо діафрагми величина детектованого сигналу буде одна й та ж:
$$
I_{1} = I_{2} = 4 I_{0} \int_{0}^{\tau} \sin \pi t / \tau \, dt = 8 I_{0} \tau / \pi
$$
Тобто зміщення спектру досліджуваного газу щодо діафрагми, встановленої за вихидною щилиною i ділянкою спектру, рівне цілому числу периодів структури цього спектра, не призводить до появи додатковой похибки вимирювань.
Звичайно, зі збильшенням числа т видносний внесок нецілих частин Д зменшусться. На рис. 7 показана теоретична залежнисть відносной змини корисного сигналу при зсуви спектру дослиджуваного газу в площини вихидної щілини в залежности вид т. Як бачимо, зменшення при збільшенни т спочатку видбувасться досить швидко, а далі ця змина насичусться.
Видилення корисного сигналу в електронному тракти приладу
Отже, при вимірі концентрацій аналізованого газу, що має хорошу періодичність структури спектру, за допомогою приладу на основі скануючого монохроматора необхідно відфільтрувати кілька гармонік корисного сигналу, близьких до n-ої інших гармонійних складових електричного сигналу, що зберігається з фотоприймача. Для цієї мети може служити узгоджений з сигналом фільтр. Справді, кожну ділянку зображеного на рис. 1 електричного сигналу можна розглядати як незалежний, окремий видрізок синусоїди з частотою$\omega _ { o }$обмеженою тривалістю і з випадковою фазою. Спектр цього сигналу можна знайти за допомогою перетворення Фур'є. Якщо видрізок синусоїди представити у вигляді:
$$
\begin{array}{l}
0, \text{ if } p t < 0 \\
\Omega(t) = \left\{\sin \omega_{o} t, \text{ for } 0 < t < 2 \pi n / \omega_{o} \right\} \tag{8} \\
0, \text{ if } p t > 2 \pi n / \omega_{o} \\
\end{array}
$$
то його спектр буде мати вигляд:
то його спектр буде мати вигляд:
$$
\Phi(\omega) = \int_{0}^{2\pi/\omega_0} \omega_0 \, \text{exp}(i\omega t) \, dt = 2i\omega_0 / (\omega_0^2 - \omega^2) (-1)^n \sin(n\pi\omega/\omega_0) \tag{9}
$$
Отриманий спектр зображений на рис 8. Вин являе собою центральний максимум, в якому зосереджена основна частина енергиї i ряд незначних бічних максимумів.

Рис. 8: Спектр електричного сигналу, що знимаеться з фотоприймача при скануванні п периодів синусодальной структури спектру анализованого газу
Ширина основного максимуму звужусться в миру збільшення кількості периодів синусоїди у цузі i може бути визначена з виразу (9) або, використовуючи відоме співвідношення:
$$
\Delta\boldsymbol{v}\cdot\Delta\boldsymbol{t}=\boldsymbol{1}
$$
У даному випадку вона доривнює: $\Delta \omega / \omega _ { O } = 1 / \hbar.$
Тобто, HaM необхидно відфільтрувати отриманий спектр вид спектруфонового сигналу, повязаного, наприклад, з наявнистю компонентів, що заважають. У відповідності з теориєю оптимальної фільтраці, в разі перешкод з ривномирним спектром передатна функція такого фільтру з точнистю до постийного множника повинна бути комплексно спряженою функціею щодо спектра ${ \pmb { \phi } } ( \omega )$ аналізованого сигналу:
$$
k(i\omega) = k\Phi(i\omega).
$$
Тобто передатна функція повинна з точнистю до постийного множника збигатися зі спектром сигнала, що виділяється. В цьому випадку їх кореляцийна функція (відгук фільтру) дорівнює максимально можливий величини:
$$
R(\omega)\max = \int_{-\infty}^{\infty} \Phi(\omega') \Phi^*(\omega' - \omega) \, d\omega
$$
Таким ЧИНОМ виділення корисного сигналу B електронному тракті кореляційного аналізатора відбувається за рахунок кореляції спектру ЦЬоГО сигналу з еталонним, записаним в пам'ять приладу.
Експериментально вивчався спектр корисного сигналу при скануванни з частотою $\omega _ { p } = \mathrm { \Omega } / \mathrm { { \kappa } T \mathrm { { I I } } }$ ділянки смуги поглинання ${ \mathsf { S O } } _ { 2 }$ від 210 до 230 нм. Суміш ${ \mathsf { S O } } _ { 2 }$ B $\Nu _ { 2 }$ концентраціею $200 \ \mathrm { \ m J I H } ^ { - 1 }$ напускалася у внутришню кювету оптичного блоку приладу ФГ О1-1. 3 фЕП-142 оптичного блоку знимався часовий сигнал, зображений на рис.
1. Цей сигнал подавався далі на селективний вольтметр B6-9 i 3 його допомогою вивчався спектральний склад корисного сигналу. Експериментально отриманий спектр сигналу зображений на рис.
9. Максимум на 10-ий гармоніці обумовлений наявністю ${ \mathsf { S O } } _ { 2 }$.

Рис. 9: Спектр електричного сигналу, що знимаеться з ФЕП 142 оптичного блоку приладу ФГо1-1 при концентраці ${ \mathsf { S O } } _ { 2 }$ x=200млH1
Як бачимо, непарни гармоники мають бильшу амплитуду ниж парни. Це пов'язано, можливо, з биттям диску сканованой вихідної щілини. Ширина гармонийних складових доривнює ${ \approx } 200 \Gamma \mathrm { { u } }$.
## II. СТРУКТУРНА СХЕМА АНАЛЗАТОРА Диоксиду Сирки
Структурна схема кореляційногоаналізатора вибиралася, виходячи з таких передумов[1]:
a) анализатор ${ \mathsf { S O } } _ { 2 }$ повинен бути переносним приладом для інспекційного контролю викидів ТЕС;
- б) вимирювання повинни проводитися в газоході для виключення можливості втрат інформації в системі пробо підготовки;
- в) внаслидок сильной запиленості газив, що видходять, необхідний захист оптичних елементив вид впливу пилу, сажі, золи, вологи.
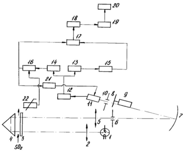
Враховуючи ці вимоги, структурна схема приладу отримала вид, зображений на рис. 10.Потик випромінювання вид дейтерієвой лампи 1 типу ДДС-30 формується за допомогою конденсора 2 i направлясться в газохид. Оскильки коефициент поглинання ${ \mathsf { S O } } _ { 2 }$ ByΦ області досить великий, то довжина кювети для анализу необхідних концентрацій ${ \mathsf { S O } } _ { 2 }$ повинна бути 45мм для діапазону $0 { - } 5 {, } 46 \mathrm { ~ r ~ / ~ } { \mathbf { M } } ^ { 3 }$ i 15мм для діапазону виміру О-16 $\mathrm { ~ T ~ } / \mathrm { ~ M ~ } ^ { 3 }$.У той же час вимирювання ${ \mathsf { S O } } _ { 2 }$ в газоході повинни проводитися на видстани не менше з0Омм вид внутришньой стіни газоходу для виключення можливості перепадів концентрації по переризу газоходу. У зв'язку з цим видкрита кювета, через яку проходить дослиджувана речовина, утворена плоскопаралельною кварцевою пластиною 3 i призмою 4, встановленою на кінці зонда, який жорстко крипиться до приладу i вводиться в газохід. Довжина зонду досягає 1м.
Газова проба надходить в кювету внаслидок наявності газового потоку в газоході i шляхом природной дифузй через металокерамічний кожух, у який вона встановлюеться. Видбившись вид призми, потик випроминювання повторно проходить через кювету i повертається в анализатор. За допомогою об'сктива 5 випромінювання фокусується на вхідну щілину 6 монохроматора i заповнює увигнуту дифракцийну решитку 7, радіусом 250 мм i з кількістю штрихів на 1 мм ривною 2400. Дифракційна решитка розкладає по спектру падаюче випромінювання і фокусує його на вихидну рухливу щілину 8. Вихідні щілини 8 наризани на диск діаметром 76 мм за його радіусом. Загальна кількисть наризаних щилин доривнює 20. Диск встановлений на осі синхронного двигуна 9 типу ДС-12. Якщо у газоході присутний SO2 ${ \mathsf { S O } } _ { 2 }$ Tо y фокальний площини решитки спостеригається його спектр поглинання. Диафрагма 10 обмежує величину сканованої ділянки спектру, ривної (210-230) HM (див.рис. 1). На цій ділянці спектра присутни 10 максимумів поглинання ${ \mathsf { S O } } _ { 2 }$.

Рис.10: Структурна схема приладу для аналізу ${ \mathsf { S O } } _ { 2 }$
Щилини 8 на диску наризани таким чином, щоб n-ta щилина, закинчивши сканування спектру ${ \mathsf { S O } } _ { 2 }$, вийшла 3a межі дiафрагми 10, a $( n + 1 )$ увийшла. Таким ЧИНОМ, при обертанні диска відбувається безперервне сканування спектру ${ \mathsf { S O } } _ { 2 }$ B спектральному діапазоні (210-230) HM.Як приймач випроминювання 11 використовусться сонячно-слипий ФЕП 142. Сигнал 3 фотоприймача 11 надходить на попередний підсилювач 12. Оскільки Тільки частина випромінювання поглинається SO2 ${ \mathsf { S O } } _ { 2 }$ B зазначеному діапазони довжин хвиль, то з ФЕП знимається як зминна V, так i постийна $V _ { = }$ складова сигналу.
Форма сигналу, що знимається з ФЕП після посилення в попередньому підсилювачі 12 зображена на рис.
1. Величина постийной складової $V _ { = }$ залежить вид концентрацій в газоході ${ \mathsf { S O } } _ { 2 }$ i інших поглинаючих випроминювання в ций області спектру компонентів, вид параметрів джерела випроминювання та фЕп. Тобто в ний миститься корисна інформация, яка може бути використана при обробці сигналив. Тому $V _ { = },$ V ПОСИЛЮЮТЬСЯ відповідними підсилювачами 13,14, детектуються детекторами 15, 16 i подаються на вхид АЦП 17. У АЦПI величина $V _ { = }$ використовусться B якости опорной напруги, a $V _ { \sim }$ надходить Ha інформацийний вхид. Таким чином в АЦП відбувається перетворення аналогових сигналив в цифрову форму i одночасно береться видношення $V _ { \sim } / \ V _ { = }$.Сигнал з АЦП поступає в постийно запам'ятовуючий пристрий (пЗП) 18, де записана залежнисть концентрацій аналзованого газу $( \mathsf { S O } _ { 2 } )$ від видношення сигналів робочого i опорного каналив i далі в блок виводу інформації 19.Блок виведення інформації розподіляє інформацію y відповідний формі між блоком індикацій 20, виходом на цифро-друкуючий пристрий (ЦДП), ВИХОДОМ Ha самописець. У блоці індикації 20 здійснюється динамічна індикація результатиів вимирювання на трьохрозрядному світлодіодному індикаторі. Для врахування залежности показив анализатора вид його температури встановлений датчик температури 22 (термоопір), з'еднаний зі схемою компенсації нуля детектора. У залежности вид температури анализатора, зминюється величина корисного сигналу, що поступає на інформаційний вхід АЦПI 17.
Оскільки на опорний канал АЦП Ma€ подаватися певне значення постийной напруги (10 В), величина постийной складовой $V _ { = }$ що надходить Ha АЦП, підтримується на цьому 3a рахунок регулювання пидсилення ФЕп за допомогою ланцюга зворотного зв'язку, що включає блок живлення ФЕП 21.Таким ЧИНОМ при величини постийної складовой сигналу $V _ { = }$ викликаному поглинанням ${ \mathsf { S O } } _ { 2 }$ B газоході, запиленістю оптичних елементив, зростає напруга Ha ФЕП, не перевищуючи допустимого значення (2,2 кВ). Інші блоки живлення (лампи ДДС-30, електроники) на рис. 10 не показані.

Рис. 11: Спектральні залежності чутливості фотокатода $S _ { \lambda }$ ФЕП 142 світлового потоку $\pmb { \phi } _ { \lambda }$ лампи ДДС-30 i коефіціента поглинання $K _ { \mathfrak { a } } \operatorname { S O } _ { 2 }$
Щодо вибору области анализу ${ \mathsf { S O } } _ { 2 }$ - (210-230) HM, TO BoHa обумовлена спектральними характеристиками обраной елементной бази (ФЕП-142, лампи ддс-з0), а також видносно невеликим интегральним поглинанням ${ \mathsf { S O } } _ { 2 }$ в цій області.
### ЛIТЕРАТYРА
1. Moffat A.J., Robbins J.R., Barringer A.B. Electro-Optical sensing of Environmental pollutans. // Atmos.Envison.-1971.-V.5.-P.511-525.
2. Inaba H., Kobayasi T. Laser-Raman Radar. //Optoelectronics.-1972.-V.4. N 4.-P.101-123.
3. Platt U., Perner D. Measurement of Atmospheric Trace Gases by Long Path Differential UV/Visible Absorption Spectroscopy. /Opt. and Laser Remote Sensing. Springer Series in Optical Siences.-Berlin. 1983.-P.97-105.
4. Пat.4.084.906.CIA MKИ G01J 3/42. Multigas digital correlation spectrometer./R.S.Biberro (CIA) - No 824957; Заявлено 20.09.76;Опубл. 18.04.78 - 8 с., 2 л.ил.
5. Разумов В.А., Звягинцев А.М. Неселективное ослабление света в атомно-абсорбционном и атомно-флуоресцентном анализе //жПС.-1979.- T.31, N 3 - C.381-394.
6. Новиков В.А., Свешников Г.Б., Слонов В.Г. Резонансно-дифференциальный метод детектирования молекулярного йода B атмосфере//ЖПС.-1986.-T.44, N 3.-C.469-474.
7. A.c. 1518732 CCCP MKI G01N 21/61. Корреляционный газоанализатор/В.Л.Голдовский, В.И.Стецович, А.Ю.Заяц (СССР)- No3864818/24- 25;Заявлено 11.03.85; Опубл. 30.10.89. Бюл. No40 - 4 с., 1л.ил.
8. Приборы для определения ${ \mathsf { S O } } _ { 2 }$ в отходящих газах ТЭС. /В.Л.Голдовский, А.Ю.Заяц, В. Р. Козубовский и др. // Приборы и системы управления.-1989.-No12.-С.21-22.
9. Оптический измеритель концентрации газа/Ю.А.Борисов,И.А. Перевозский,В.К.Утенков и др.//Тр.ЦАО - 1979.- Вып. 138 - С.66-71.
Оптимизация параметров сканирующего спектрометра для анализа газов
B работе приведены результаты оптимизационого расчета параметров дисперсионных приборов газового анализа в $\mathbf { y } _ { \Phi }$ и видимой областях спектра, котрые используют корреляционное выделение полезного сигнала B ero электронном тракте. Предложены медоты оптимального выбора этих параметров. Как пример использования этих ТИПОВ приборов описана структурная схема газоанализатора ${ \mathsf { S O } } _ { 2 }$ в отходящих газах тепловых электростанций.
Optimisation of parametres of a scanning spectrometer for the gas analysis In the article results of optimization calculation of parametres of scanning spectrometer for the gas analysis in UV and visible fields of a spectrum are considered. The correlation selection of the useful signal in its electronic path is used. The methods of optimum choice of these parametres are offered. The blockdiagram of gas analyzer ${ \mathsf { S O } } _ { 2 }$ in exit gases of thermal power stations is described as an example of use of these types of devices.
Generating HTML Viewer...
Funding
No external funding was declared for this work.
Conflict of Interest
The authors declare no conflict of interest.
Ethical Approval
No ethics committee approval was required for this article type.
Data Availability
Not applicable for this article.
How to Cite This Article
V. Kozubovskyi. 2026. \u201cDispersion Devices Using A Fourier Analyzer\u201d. Global Journal of Science Frontier Research - B: Chemistry GJSFR-B Volume 23 (GJSFR Volume 23 Issue B2): .
Explore published articles in an immersive Augmented Reality environment. Our platform converts research papers into interactive 3D books, allowing readers to view and interact with content using AR and VR compatible devices.
Your published article is automatically converted into a realistic 3D book. Flip through pages and read research papers in a more engaging and interactive format.
The paper considers the possibility of optimizing the parameters of dispersion devices for gas analysis, which use correlation reception of the useful signal and are used for the analysis of gas mixtures in the visible and UV regions of the spectrum. The factors affecting the optimal filtering of the useful signal in the electronic path of the device are determined, and methods of eliminating this influence, including the background component of the signal, are proposed. As an example of the use of gas analysis devices with correlated selection of a useful signal in the electronic path of the analyzer, the structural diagram of the device for the analysis of SO2 in the gases of thermal power plants is described.
Our website is actively being updated, and changes may occur frequently. Please clear your browser cache if needed. For feedback or error reporting, please email [email protected]
Thank you for connecting with us. We will respond to you shortly.